- Partiron
- OEM Parts
- Suzuki
- Motorcycle
- 1979
- GS750L (1979)
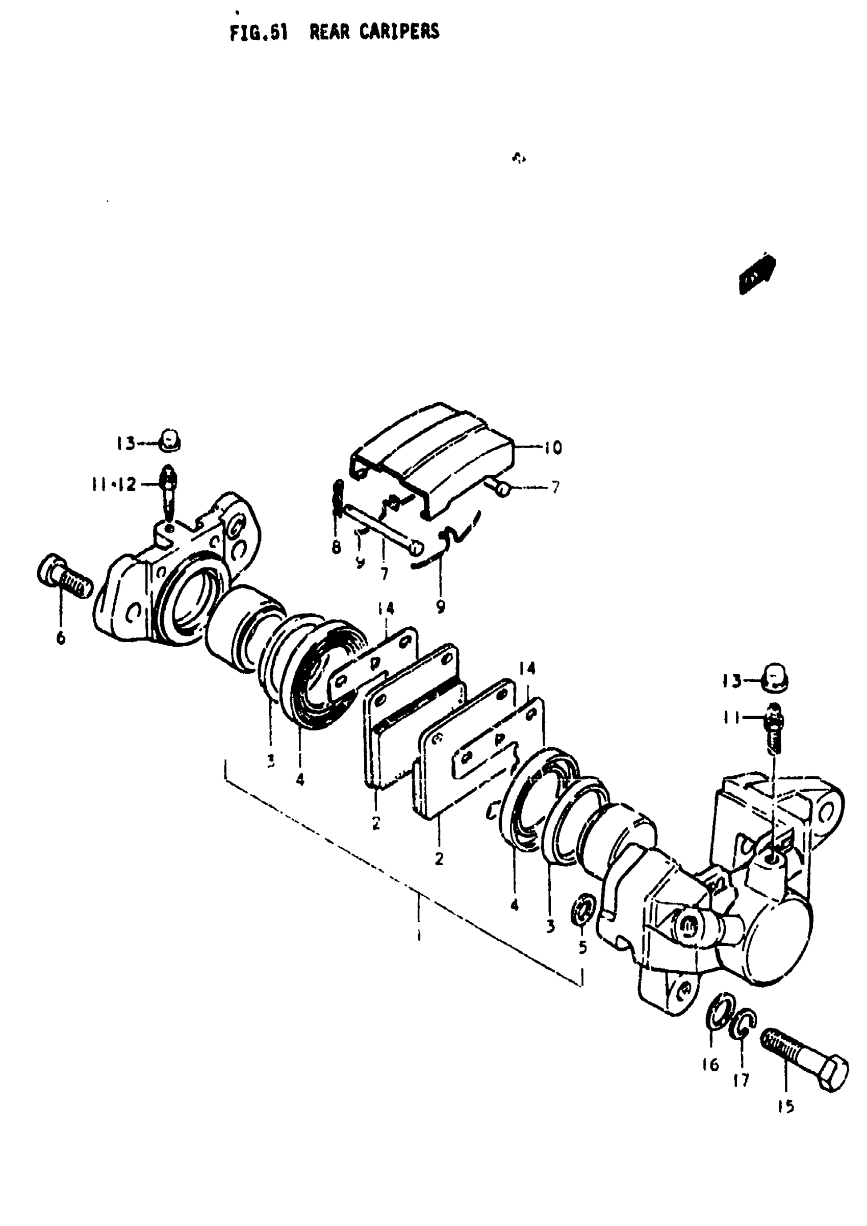
REAR CARIPERS
Suzuki GS750L (1979) REAR CARIPERS Diagram
#
Description
Price
0
CALIPER ASSY, R | Includes Item(s) 1 - 14 This part replaces 69100-45010.
69100-08C00-999
Unavailable
2
PAD SET This part replaces 69130-45010.
69101-45850-XNA
Unavailable
6
BOLT, HOUSING
69145-45000
Unavailable
12
BLEEDER (2)
69122-45000
Unavailable
