Partiron

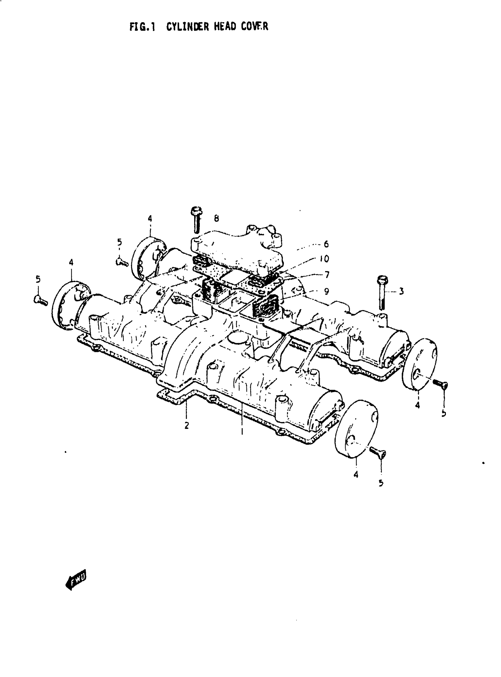
Suzuki GS750L (1979) CYLINDER HEAD COVER Diagram

#

Description
Price

1

COVER, CYLINDER HEAD

11171-45000

Unavailable

2

GASKET,CYL HD C This part replaces 11173-45002.

11173-45004-H17

Unavailable

3

BOLT This part replaces 01517-06408.

01550-06407

$2.69

4

CAP, CYLINDER HEAD COVER SIDE

11174-49000

Unavailable

5

SCREW This part replaces 02132-05128.

02122-05127

$1.93

6

NO DESCRIPTION AVAILABLE This part replaces 11176-45000.

11176-45011

Unavailable

7

GASKET,BRTHR CV This part replaces 11177-45000.

11177-45000-H17

Unavailable

8

BOLT This part replaces 01517-06258.

01550-06257

$2.30

9

SEPARATOR,OIL B | 34x110 This part replaces 11186-45000.

11186-45001

Unavailable

10

SEPARATOR,OIL B | 35x68 This part replaces 11187-45000.

11187-45001

Unavailable