- Partiron
- OEM Parts
- Suzuki
- Motorcycle
- 1983
- GS750E (1983)
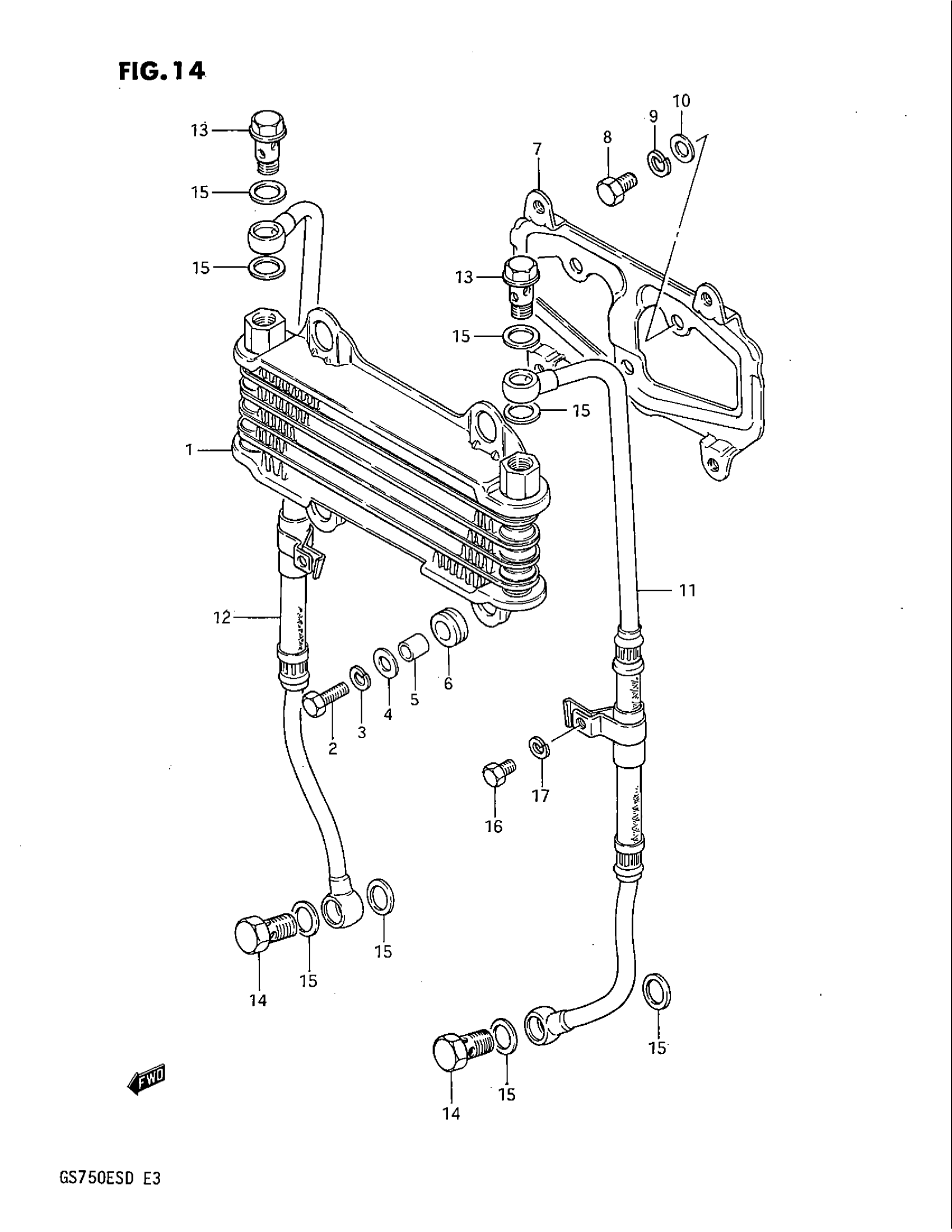
OIL COOLER
Suzuki GS750E (1983) OIL COOLER Diagram
#
Description
Price
1
COOLER ASSY, ENGINE OIL
16600-31300
Unavailable
7
BRACKET
16620-31300
Unavailable
11
HOSE, OIL COOLER LH
16460-31301
Unavailable
12
HOSE, OIL COOLER RH
16470-31301
Unavailable
14
UNION BOLT, ENGINE SIDE
09360-14005
Unavailable
