- Partiron
- OEM Parts
- Suzuki
- Motorcycle
- 1981
- GS750E (1981)
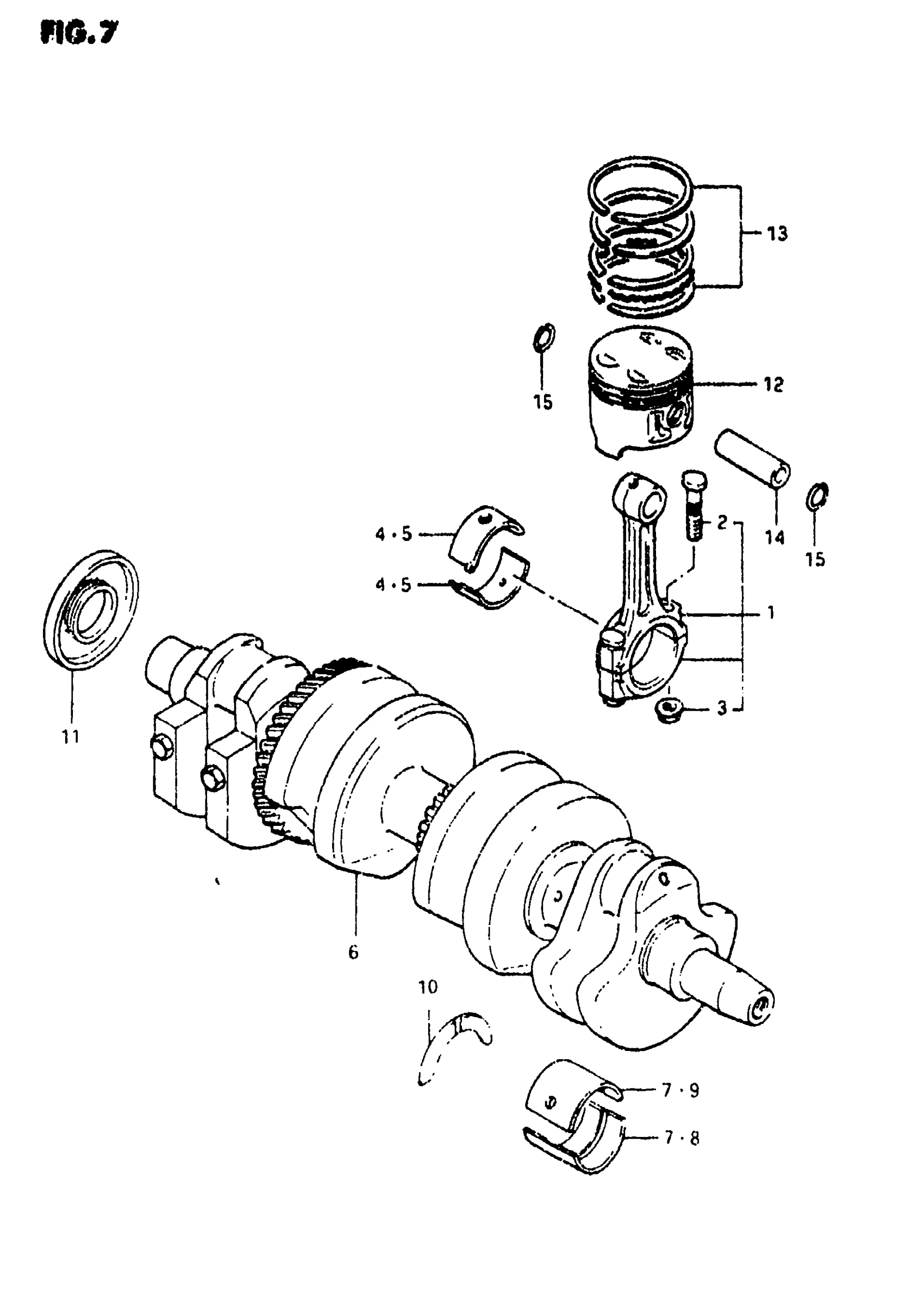
CRANKSHAFT
Suzuki GS750E (1981) CRANKSHAFT Diagram
#
1
ROD ASSY, CONNECTING | Includes Item(s) 2 - 3 This part replaces 12160-45400.
12160-45500
Unavailable
2
BOLT (NOT AVAILABLE)
12163-45400
Unavailable
4
BEARING, CRANK PIN (GREEN) | ~E. NO. 142943~; GREEN This part replaces 12164-45400-010.
12164-31E00-0A0
$23.00
4
BEARING, CRANK PIN (BLACK) | ~E.NO.142943~; BLACK This part replaces 12164-45400-020.
12164-31E00-0B0
$19.55
4
BEARING, CRANK PIN (BROWN) | ~E.NO.142943~; BROWN This part replaces 12164-45400-030.
12164-31E00-0C0
$23.00
4
BEARING, CRANK PIN (YELLOW) | ~E.NO.142943~; YALLOW This part replaces 12164-45400-040.
12164-31E00-0D0
$23.00
4
BEARING, CRANK PIN (US:0.25) | ~E.NO.142943~; US:0.25 This part replaces 12164-45400-025.
12164-45510-025
Unavailable
4
BEARING, CRANK PIN (US:0.50) | ~E.NO.142943~; US:0.50 This part replaces 12164-45400-050.
12164-45510-050
Unavailable
5
BEARING, CRANK PIN (GREEN) | ~E.NO.142944~; GREEN This part replaces 12164-45500-010.
12164-31E00-0A0
$23.00
5
BEARING, CRANK PIN (BLACK) | ~E. NO. 142944~; BLACK This part replaces 12164-45500-020.
12164-31E00-0B0
$19.55
5
BEARING, CRANK PIN (BROWN) | ~E.NO.142944~; BROWN This part replaces 12164-45500-030.
12164-31E00-0C0
$23.00
5
BEARING, CRANK PIN (YELLOW) | ~E.NO. 142944~; YELLOW This part replaces 12164-45500-040.
12164-31E00-0D0
$23.00
5
BEARING, CRANK PIN (US:0.25) | ~E.NO. 142944~; US:0.25 This part replaces 12164-45500-025.
12164-45510-025
Unavailable
5
BEARING, CRANK PIN (US:0.50) | ~E.NO. 142944~; US:0.50 This part replaces 12164-45500-050.
12164-45510-050
Unavailable
6
CRANKSHAFT This part replaces 12220-45402.
12220-45500
Unavailable
7
BEARING, CRANKSHAFT (GREEN) | ~E.NO.142943 GREEN This part replaces 12229-45400-010.
12229-09301-0A0
Unavailable
7
BEARING, CRANKSHAFT (BLACK) | ~E.NO. 142943 BLACK This part replaces 12229-45400-020.
12229-09301-0B0
Unavailable
7
BEARING, CRANKSHAFT (BROWN) | ~E.NO. 142943 BROWN This part replaces 12229-45400-030.
12229-09301-0C0
Unavailable
7
BEARING, CRANKSHAFT (YELLOW) | ~E.NO. 142943 YELLOW This part replaces 12229-45400-040.
12229-09301-0D0
Unavailable
7
BEARING, CRANKSHAFT | ~E.NO. 142943 US:0.25
12229-45400-025
Unavailable
7
BEARING, CRANKSHAFT | ~E.NO. 142943; US:0.50
12229-45400-050
Unavailable
8
BEARING, CRANKSHAFT (GREEN) | ~E.NO. 142944~; GREEN This part replaces 12229-45400-010.
12229-09301-0A0
Unavailable
8
BEARING, CRANKSHAFT (BLACK) | ~E.NO. 142944~; BLACK This part replaces 12229-45400-020.
12229-09301-0B0
Unavailable
8
BEARING, CRANKSHAFT (BROWN) | ~E.NO. 142944~; BROWN This part replaces 12229-45400-030.
12229-09301-0C0
Unavailable
8
BEARING, CRANKSHAFT (YELLOW) | ~E.NO. 142944~; YELLOW This part replaces 12229-45400-040.
12229-09301-0D0
Unavailable
8
BEARING, CRANKSHAFT LOWER | ~E. NO. 142944~; US:0.25
12229-45400-025
Unavailable
8
BEARING, CRANKSHAFT LOWER | ~E. NO. 142944~; US:0.50
12229-45400-050
Unavailable
9
BEARING, CRANKSHAFT (GREEN) | ~E. NO. 142944~; GREEN This part replaces 12229-45410-010.
12229-06B10-0A0
$12.00
9
BEARING, CRANKSHAFT (BLACK) | ~E. NO. 142944~; BLACK This part replaces 12229-45410-020.
12229-06B10-0B0
$10.21
9
BEARING, CRANKSHAFT (BROWN) | ~E. NO. 142944~; BROWN This part replaces 12229-45410-030.
12229-06B10-0C0
$10.21
9
BEARING, CRANKSHAFT (YELLOW) | ~E. NO. 142944~; YELLOW This part replaces 12229-45410-040.
12229-06B10-0D0
$12.45
9
BEARING, CRANKSHAFT (US:0.25) | ~E. NO. 142944~; US:0.25 This part replaces 12229-45410-025.
12229-45400-025
Unavailable
9
BEARING, CRANKSHAFT (US:0.5) | ~E. NO. 142944~; US:0.50 This part replaces 12229-45410-050.
12229-45400-050
Unavailable
10
THRUST BEARING (WHITE) | (0~1) E.NO.152574~ This part replaces 12228-45401.
12228-31306
Unavailable
10
THRUST BEARING (GREEN) | (0~1) GREEN, E.NO.152574~ This part replaces 12228-45402.
12228-31304
Unavailable
10
THRUST BEARING (BLACK) | (0~1) BLACK, E.NO. 152574~ This part replaces 12228-45403.
12228-31302
Unavailable
11
OIL SEAL This part replaces 09283-30031.
09283-30048
Unavailable
12
PISTON (STD) | MODEL T This part replaces 12111-45401.
12111-45402
Unavailable
12
PISTON (STD) | MODEL X
12111-45402
Unavailable
12
NO DESCRIPTION AVAILABLE | MODEL T This part replaces 12111-45401-050.
12103-45840-050
Unavailable
12
NO DESCRIPTION AVAILABLE | MODEL X OPT This part replaces 12111-45402-050.
12103-45840-050
Unavailable
12
NO DESCRIPTION AVAILABLE | MODEL T This part replaces 12111-45401-100.
12103-45840-100
Unavailable
12
NO DESCRIPTION AVAILABLE | MODEL X This part replaces 12111-45402-100.
12103-45840-100
Unavailable
13
PISTON RING SET This part replaces 12140-45410.
12140-31311
Unavailable
13
PISTON RING SET (OS:0.5) | OPT This part replaces 12140-45410-050.
12140-31311-050
Unavailable
13
PISTON RING SET (OS:1.0) This part replaces 12140-45410-100.
12140-31311-100
Unavailable
