- Partiron
- OEM Parts
- Suzuki
- Motorcycle
- 1983
- GS650M (1983)
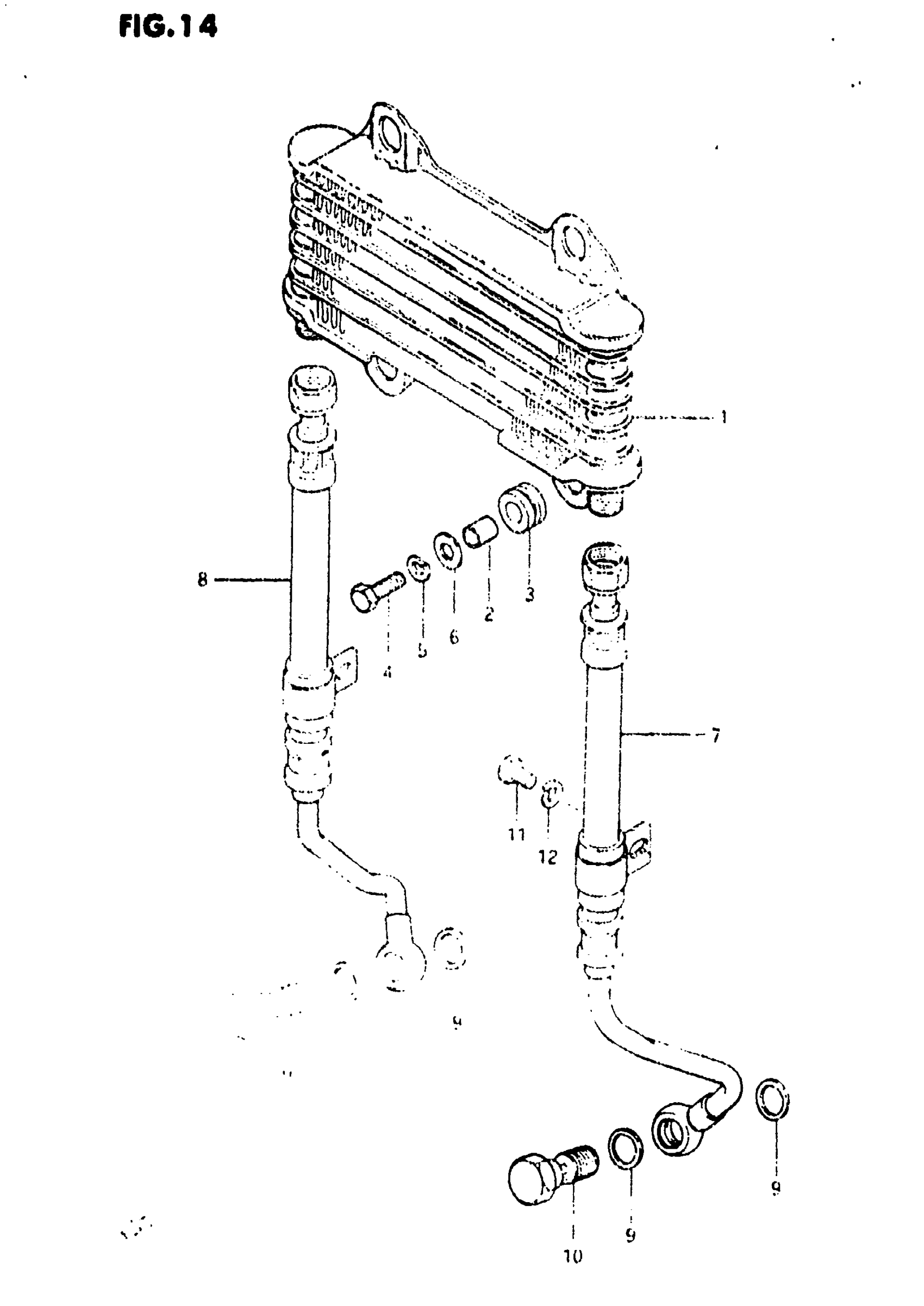
OIL COOLER
Suzuki GS650M (1983) OIL COOLER Diagram
#
Description
Price
1
COOLER ASSY, OIL
16600-34310
Unavailable
7
HOSE, OIL LH
16460-34310
Unavailable
8
HOSE, OIL RH
16470-34310
Unavailable
10
UNION
09360-14005
Unavailable
