- Partiron
- OEM Parts
- Suzuki
- Motorcycle
- 1983
- GS650M (1983)
FRONT LEFT DAMPER
Suzuki GS650M (1983) FRONT LEFT DAMPER Diagram
#
Description
Price
0
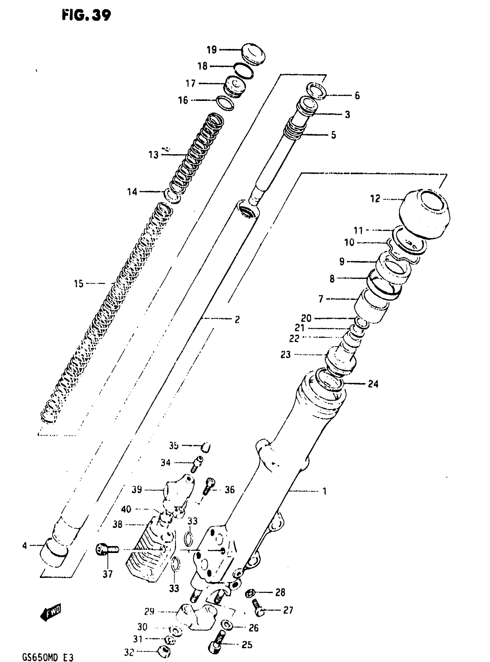
FRONT LH DAMPER | Includes Item(s) 1 - 40
51104-34370
Unavailable
1
CUTER TUBE LH
51140-34330
Unavailable
2
INNER TUBE
51110-34370
Unavailable
3
CYLINDER
51146-34370
Unavailable
4
PISTON
51121-34210
Unavailable
5
SPRING REBOUND
51177-34210
Unavailable
6
RING PISTON
51196-34210
Unavailable
10
RING BACK UP
51158-34320
Unavailable
11
CIRCLIP INTERNAL
51556-34320
Unavailable
12
DUSTSEAL This part replaces 51571-45200.
51571-34320
Unavailable
13
SPRING A
51171-34370
Unavailable
15
SPRING B
51184-34370
Unavailable
16
O RING
51117-34210
Unavailable
17
BOLT
51175-34210
Unavailable
18
ADJUSTER SPRING
51169-34210
Unavailable
19
CAP
51189-34210
Unavailable
20
VALVE C
51126-34310
Unavailable
21
VALVE SPRING
51127-34310
Unavailable
22
OIL LOCK PIECE VALVE
51125-34310
Unavailable
23
PIECE, OIL LOCK This part replaces 51195-34320.
51195-34370
Unavailable
24
PISTON RING
51123-34320
Unavailable
29
HOLDER, AXLE This part replaces 51132-44040.
51132-44040-15T
Unavailable
34
SCREW
51778-11420
Unavailable
35
BLEEDER CAP
51779-11420
Unavailable
38
MODULATOR VALVE SET
51700-34840
Unavailable
39
MODULATOR PLUNGER SET LH
51700-11810
Unavailable
40
SEPARATOR
51777-11420
Unavailable
