- Partiron
- OEM Parts
- Suzuki
- Motorcycle
- 1982
- GS650E (1982)
REAR MASTER CYLINDER
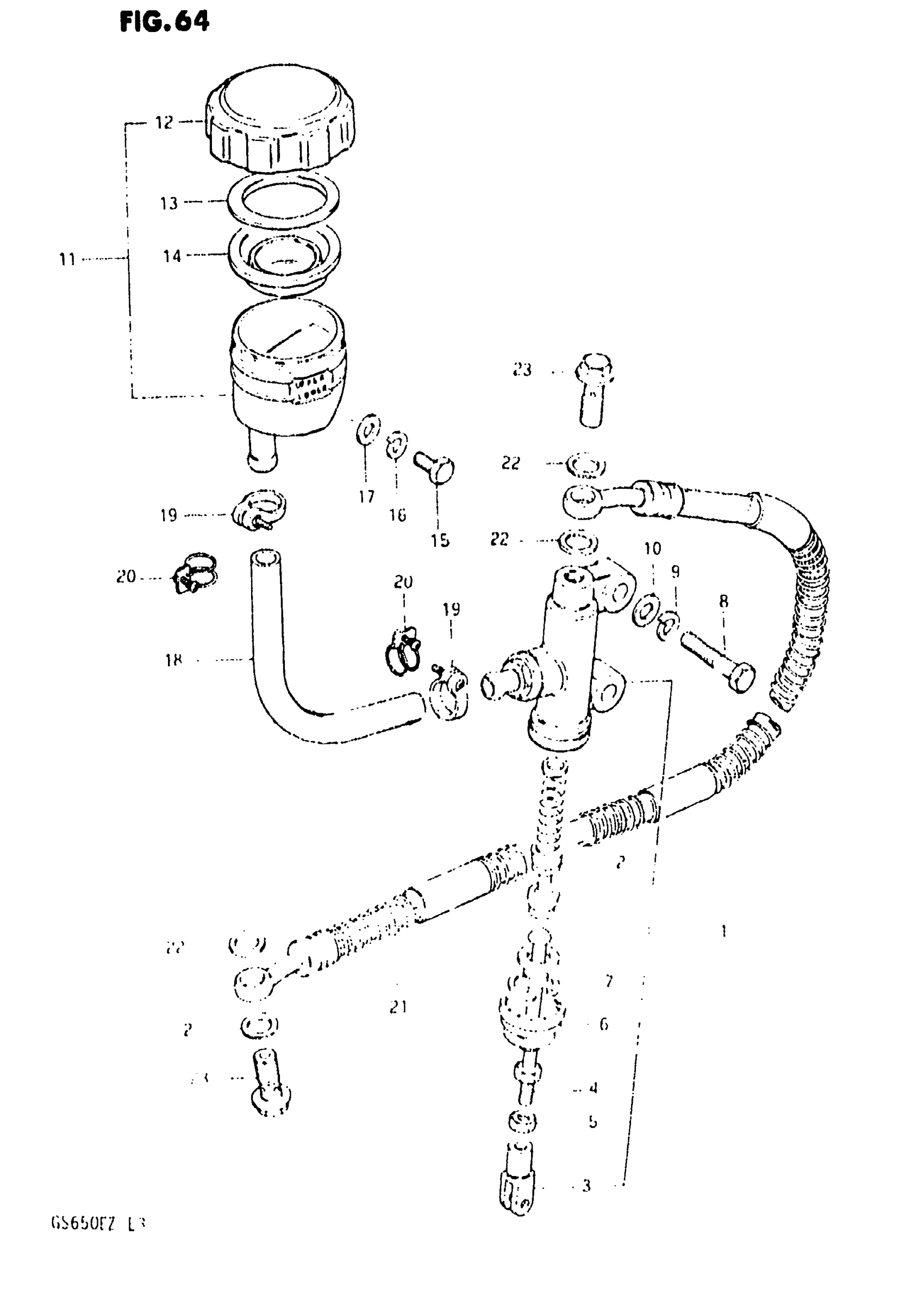
Suzuki GS650E (1982) REAR MASTER CYLINDER Diagram
#
Description
Price
1
CYLINDER ASSY,R | MODEL X This part replaces 69600-47002.
69600-47011
Unavailable
1
CYLINDER ASSY,R | MODEL Z; Includes Item(s) 2 - 7 This part replaces 69600-47003.
69600-47011
Unavailable
3
YOKE | MODEL X This part replaces 69692-45002.
69692-34300
Unavailable
3
YOKE | MODEL Z
69692-34300
Unavailable
4
ROD, PUSH
69670-45001
Unavailable
11
TANK ASSY,RR RS | Includes Item(s) 12 - 14 This part replaces 69740-34230.
69740-31D00
Unavailable
18
HOSE
69731-34500
Unavailable
19
CLAMP | MODEL X
69735-34200
Unavailable
21
HOSE, REAR BRAKE
69480-34503
Unavailable
