Partiron

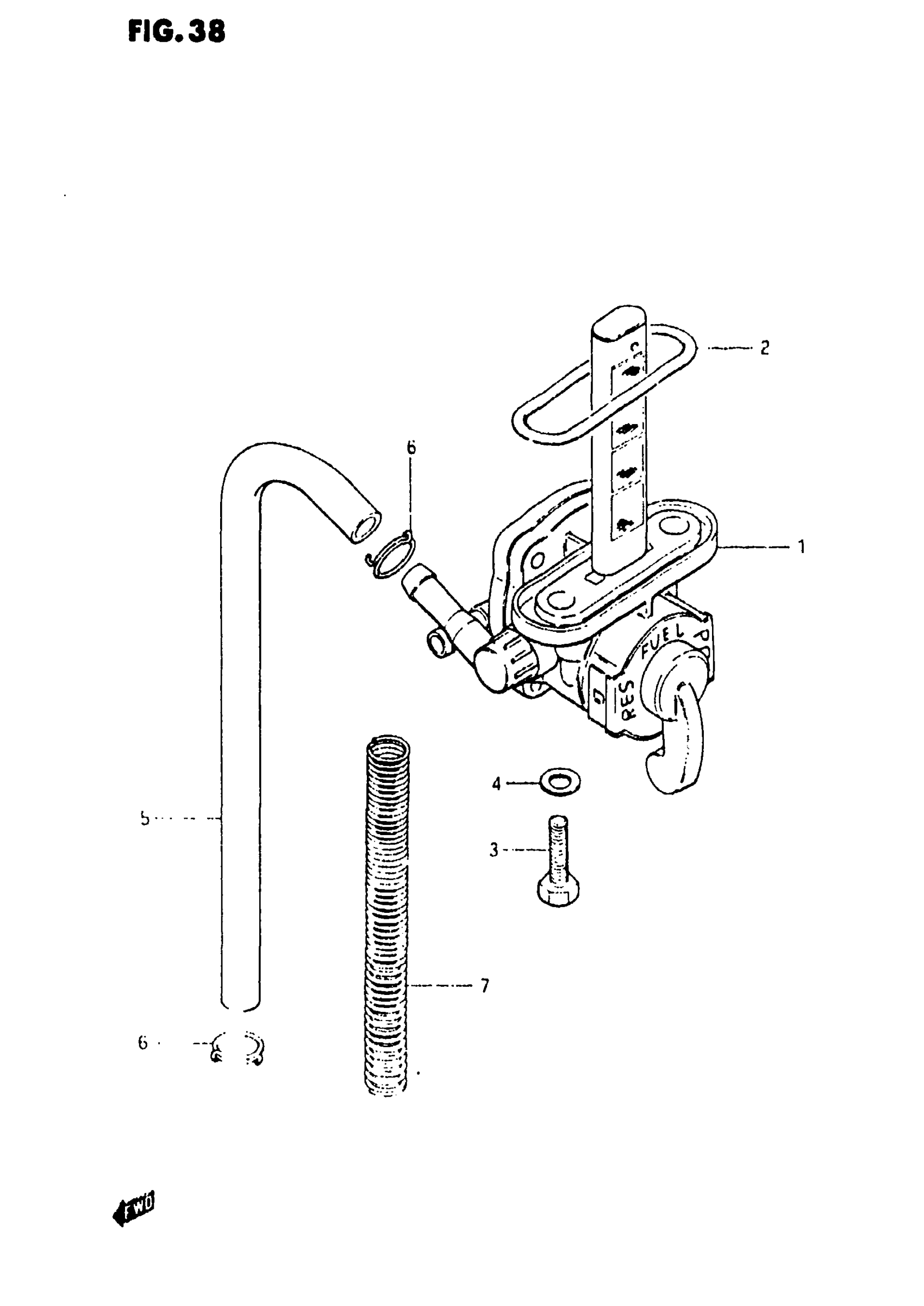
Suzuki GS650E (1982) FUEL COCK (MODEL X) Diagram

#

Description
Price

1

NO DESCRIPTION AVAILABLE | Includes Item(s) 2 This part replaces 44300-34570.

44300-34571

Unavailable

2

O RING This part replaces 44348-49170.

44348-49171

$2.88

3

BOLT This part replaces 09128-06006.

09128-06057

$1.65

4

GASKET (5.8X13X1.2) This part replaces 09168-06010.

09168-06023

$2.35

5

HOSE(7X10.2X200 This part replaces 09343-07026.

09352-70104-00B

$15.32

6

CLIP

09401-10403

$1.65

7

SPRING This part replaces 09440-13017.

09440-13043

$6.04