- Partiron
- OEM Parts
- Suzuki
- Motorcycle
- 1986
- GS550L (1986)
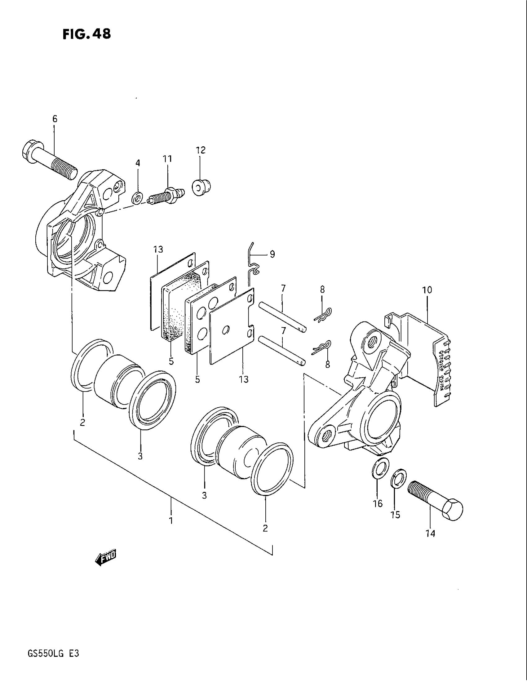
FRONT CALIPERS (MODEL G)
Suzuki GS550L (1986) FRONT CALIPERS (MODEL G) Diagram
#
Description
Price
CALIPERS ASSY, FRONT | Includes Item(s) 1 - 13
59300-33430
Unavailable
