- Partiron
- OEM Parts
- Suzuki
- Motorcycle
- 1983
- GS550L (1983)
CARBURETOR
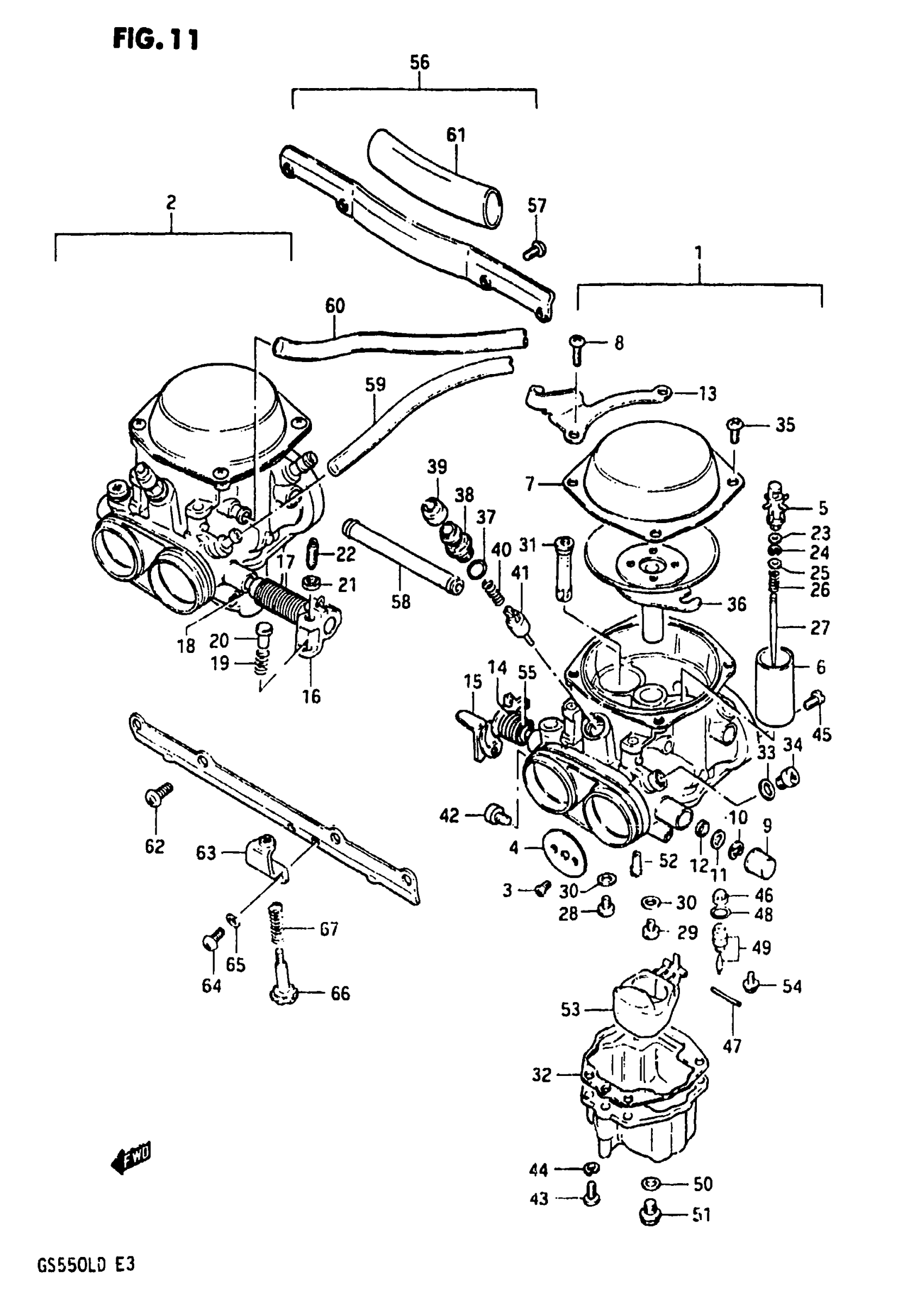
Suzuki GS550L (1983) CARBURETOR Diagram
#
Description
Price
1
CARBURETOR, LH
13201-43510
Unavailable
2
CARBURETOR, RH | Includes Item(s) 3 - 55
13202-43510
Unavailable
4
VALVE, THROTTLE (120)
13551-43410
Unavailable
6
VALVE, PISTON
13551-43400
Unavailable
7
COVER, DIAPHRAGM
13502-43410
Unavailable
13
BRACKET | LH This part replaces 13621-43410.
13621-43420
Unavailable
14
SPRING | LH
13573-43410
Unavailable
15
SHAFT ASSY, THROTTLE | LH
13550-43410
Unavailable
16
SHAFT ASSY, THROTTLE | RH
13550-43400
Unavailable
17
SPRING | RH
13573-43400
Unavailable
18
PIPE | RH
13574-43410
Unavailable
19
SPRING | RH
13268-44010
Unavailable
20
PIN | RH
13575-47070
Unavailable
27
NEEDLE, JET (5C64)
13383-43410
Unavailable
31
JET, NEEDLE (P-3)
09494-00421
Unavailable
33
WASHER
13531-43410
Unavailable
34
SCREW
13605-43410
Unavailable
36
DIAPHRAGM ASSY
13500-43410
Unavailable
41
PLUNGER
13411-43410
Unavailable
45
JET, PILOT AIR (150)
09492-30004
Unavailable
53
FLOAT
13250-43410
Unavailable
55
RING | LH
13574-43400
Unavailable
56
FLANGE ASSY | Includes Item(s) 57 - 67
13210-43400
Unavailable
58
PIPE
13685-43410
Unavailable
61
HOSE This part replaces 13684-43410.
13684-43440
Unavailable
63
BRACKET This part replaces 13628-43410.
13621-43430
Unavailable
66
ADJUSTER
13267-43410
Unavailable
