- Partiron
- OEM Parts
- Suzuki
- Motorcycle
- 2009
- GS500F (2009)
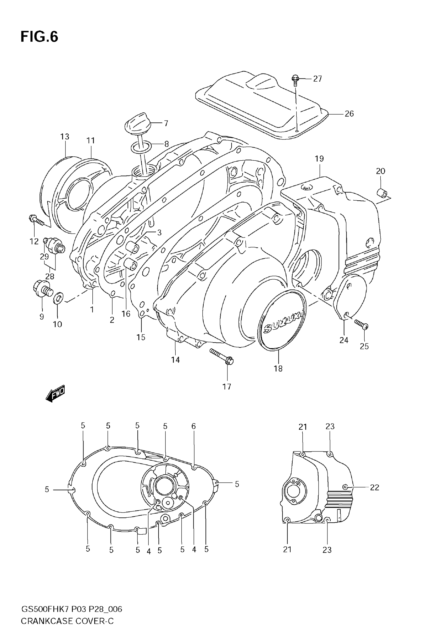
CRANKCASE COVER
Suzuki GS500F (2009) CRANKCASE COVER Diagram
#
Description
Price
7
GAUGE, OIL LEVEL
11970-44110
Unavailable
26
COVER, STARTER MOTOR
11382-01D00
Unavailable
27
BOLT
01547-0508A
Unavailable
28
SWITCH ASSY,OIL PRESSURE | Includes Item(s) 29 This part replaces 37820-33D10.
37820-33D11
$25.13
