- Partiron
- OEM Parts
- Suzuki
- Motorcycle
- 2006
- GS500F (2006)
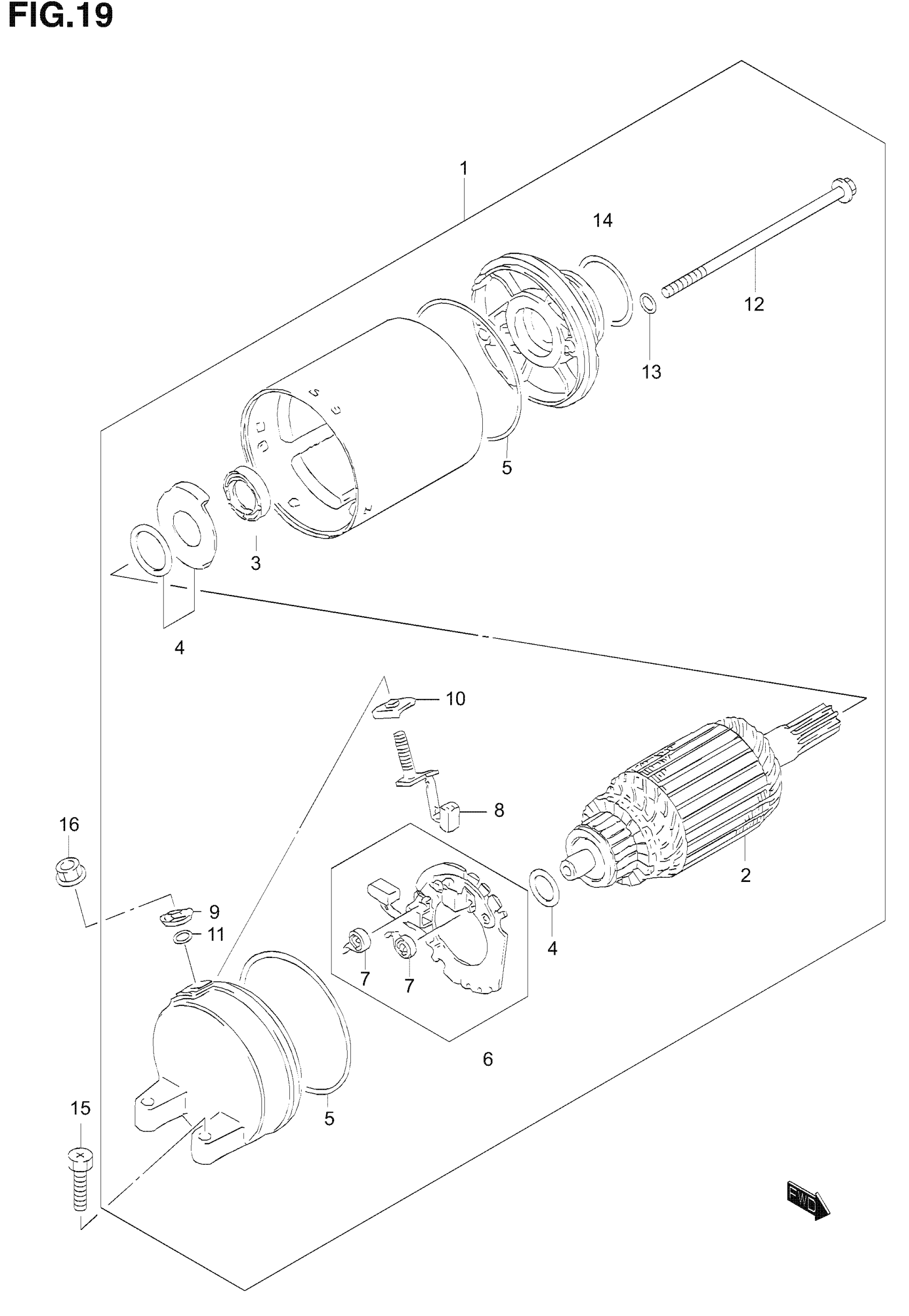
STARTING MOTOR
Suzuki GS500F (2006) STARTING MOTOR Diagram
#
Description
Price
1
MOTOR ASSY, STARTING | Includes Item(s) 2 - 14 This part replaces 31100-20C00.
31100-20C01
$679.68
2
ARMATURE
31310-27A01-H17
Unavailable
4
SHIM SET
31170-43400
Unavailable
12
BOLT
31281-88C00
Unavailable
