- Partiron
- OEM Parts
- Suzuki
- Motorcycle
- 2000
- GS500E (2000)
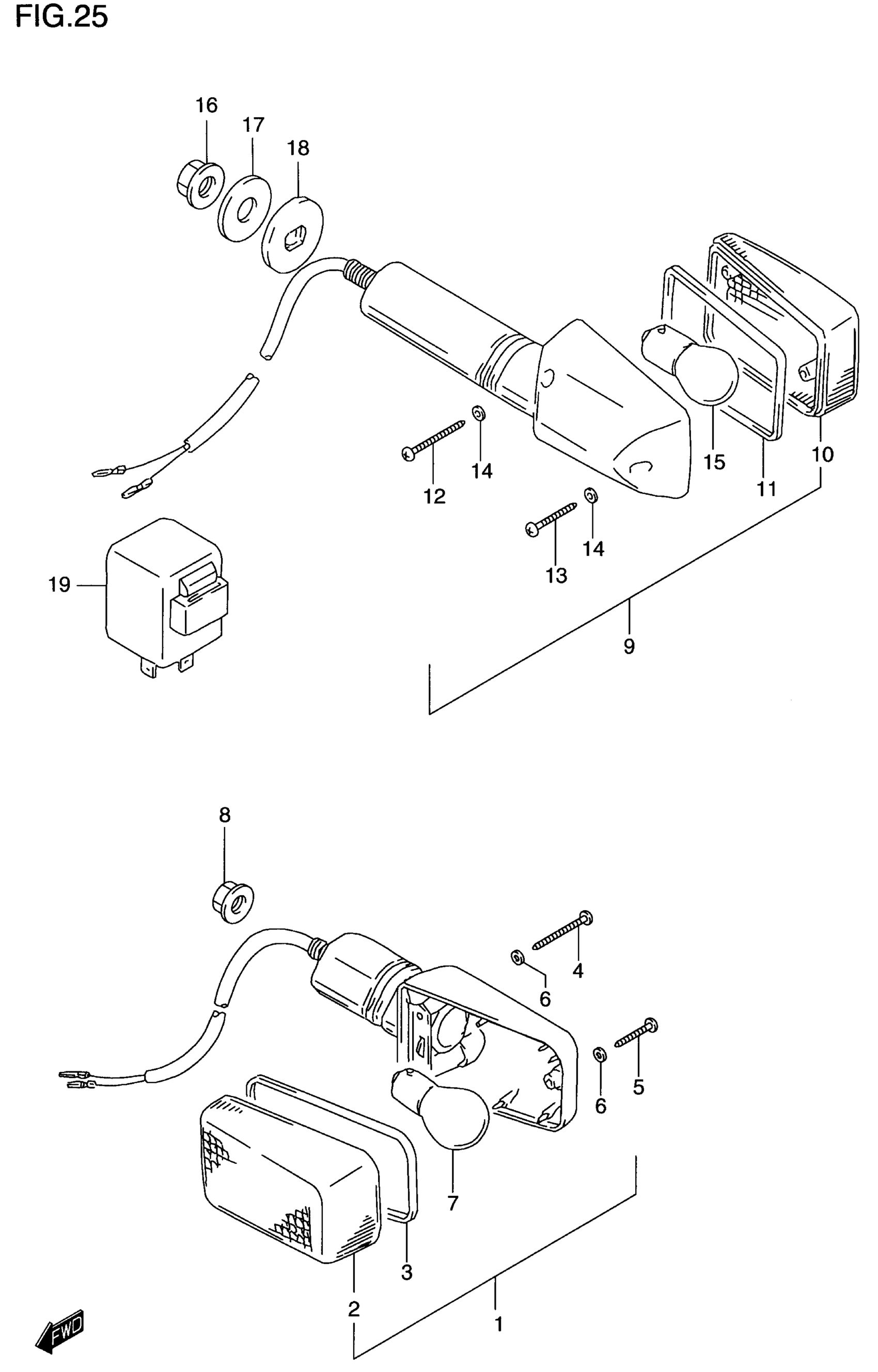
TURNSIGNAL LAMP
Suzuki GS500E (2000) TURNSIGNAL LAMP Diagram
#
Description
Price
1
LAMP ASSY, FRONT TURNSIGNAL | Includes Item(s) 2 - 7
35601-01D10
Unavailable
9
LAMP ASSY, REAR TURNSIGNAL | Includes Item(s) 10 - 14
35601-17C41
Unavailable
