- Partiron
- OEM Parts
- Suzuki
- Motorcycle
- 2000
- GS500E (2000)
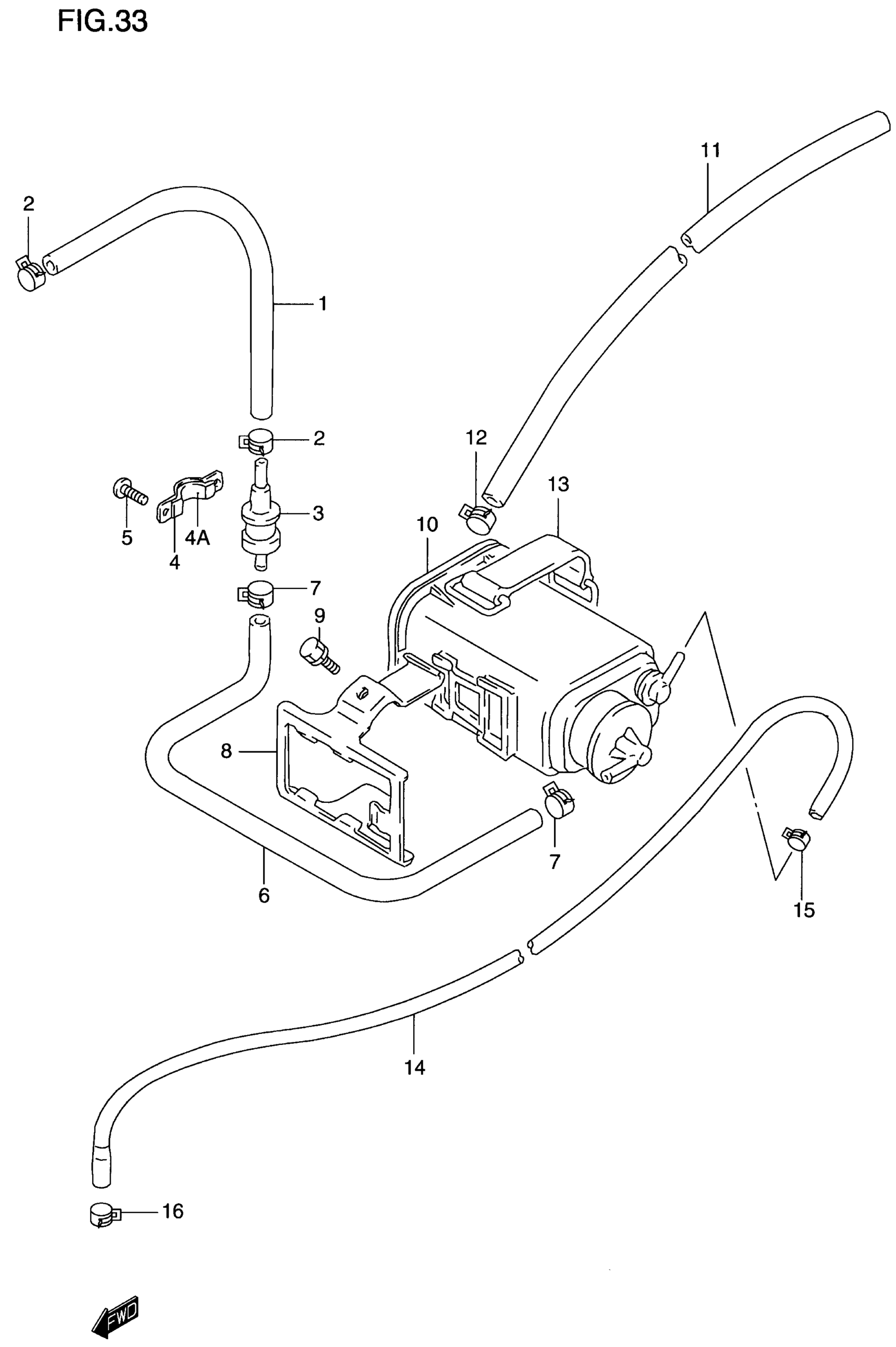
CANISTER (E33)
Suzuki GS500E (2000) CANISTER (E33) Diagram
#
Description
Price
6
HOSE, VALVE TO CANISTER
09343-05503
Unavailable
8
PLATE, CANISTER FITTING
44880-01D00
Unavailable
9
BOLT This part replaces 01570-06103.
01570-0610A
Unavailable
10
CANISTER
17210-01D00
Unavailable
14
HOSE, CANISTER TO CARBURETOR | L:600?400
09359-35751-600
Unavailable
