- Partiron
- OEM Parts
- Suzuki
- Motorcycle
- 1995
- GS500E (1995)
REAR SWINGING ARM
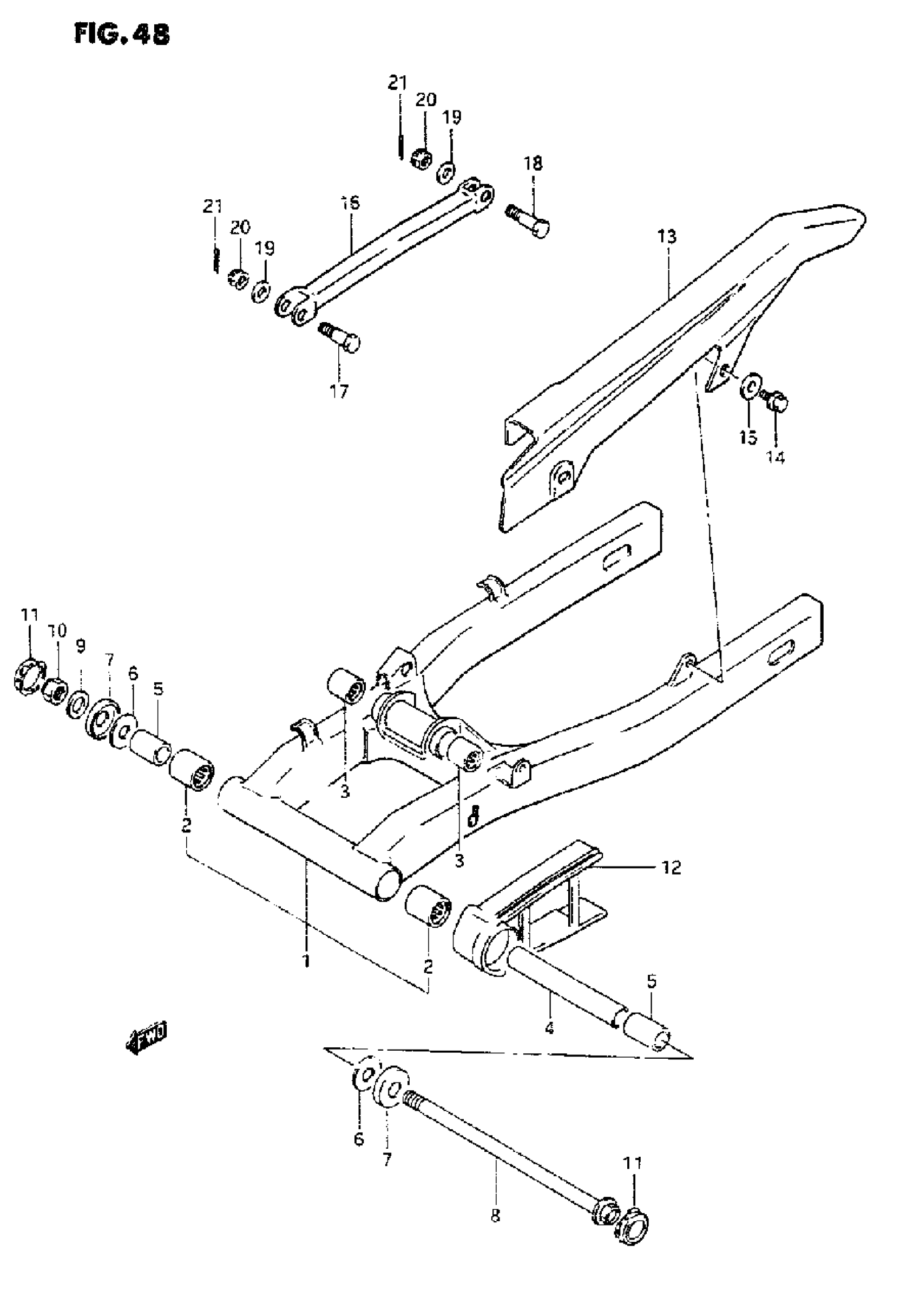
Suzuki GS500E (1995) REAR SWINGING ARM Diagram
#
Description
Price
1
SWINGING ARM ASSY, REAR (SILVER) | MODEL K/L/M/N/P This part replaces 61000-01D01-0FP.
61000-01D10-13L
Unavailable
1
SWINGING ARM ASSY, REAR (SILVER) | MODEL R This part replaces 61000-01D01-13L.
61000-01D10-13L
Unavailable
1
SWINGING ARM ASSY, REAR (SILVER) | MODEL S/T This part replaces 61000-01D02-13L.
61000-01D10-13L
Unavailable
4
SPACER, CENTER
61282-01D00
Unavailable
8
SHAFT, SWINGING ARM PIVOT
61211-30B00
Unavailable
13
CASE, CHAIN This part replaces 61310-01D00.
61310C01D00J000
Unavailable
16
TORQUE LINK, REAR (BLACK) | MODEL K This part replaces 64310-01D01-0FP.
64310-01D02
Unavailable
16
TORQUE LINK, REAR (BLACK) | MODEL L/M/N/P/R/S/T
64310-01D02
Unavailable
17
BOLT, FRONT
09111-10016
Unavailable
