- Partiron
- OEM Parts
- Suzuki
- Motorcycle
- 1982
- GS450L (1982)
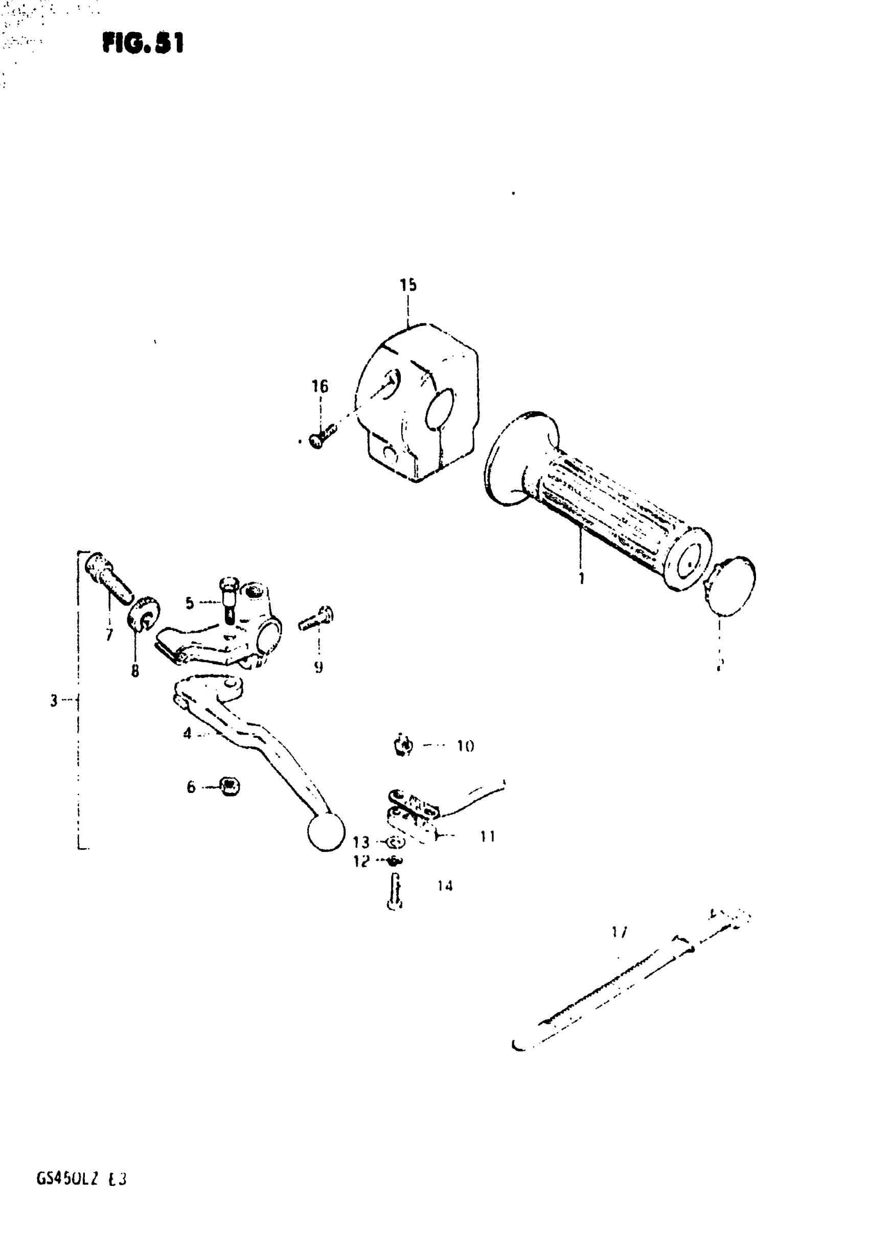
LEFT HANDLE SWITCH (MODEL Z)
Suzuki GS450L (1982) LEFT HANDLE SWITCH (MODEL Z) Diagram
#
Description
Price
2
CAP, GRIP END LH
57216-49100
Unavailable
3
LEVER ASSY,CLUT | Includes Item(s) 4 - 14 This part replaces 57500-49112.
57500-49301
Unavailable
9
BOLT
57451-49100
Unavailable
15
NO DESCRIPTION AVAILABLE | Includes Item(s) 16 This part replaces 37400-44130.
37400-44132
Unavailable
