- Partiron
- OEM Parts
- Suzuki
- Motorcycle
- 1983
- GS450E (1983)
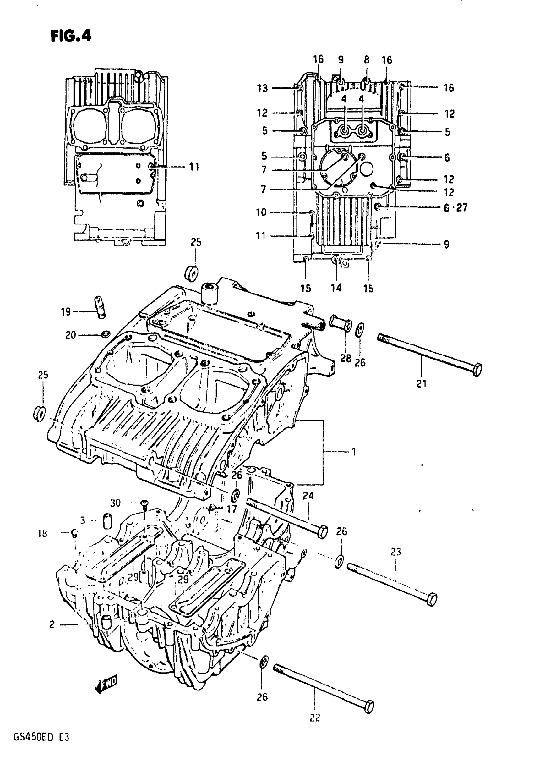
CRANKCASE
Suzuki GS450E (1983) CRANKCASE Diagram
#
Description
Price
1
CRANKCASE SET | Includes Item(s) 2 - 20
11300-44861
Unavailable
5
BOLT (8X125) This part replaces 09103-08020.
09103-08106
Unavailable
17
JET,AIR
09493-22010
Unavailable
19
JET, OIL GALLERY CYLINDER
09493-24008
Unavailable
21
BOLT (10x215)
09100-10034
Unavailable
22
BOLT (10x210)
09100-10033
Unavailable
23
BOLT This part replaces 09100-10092.
41189-17X00
Unavailable
28
SPACER, ENGINE MOUNTING
11610-44100
Unavailable
