- Partiron
- OEM Parts
- Yamaha
- snowmobile
- 1977
- GS340A 1977
FLYWHEEL MAGNETO
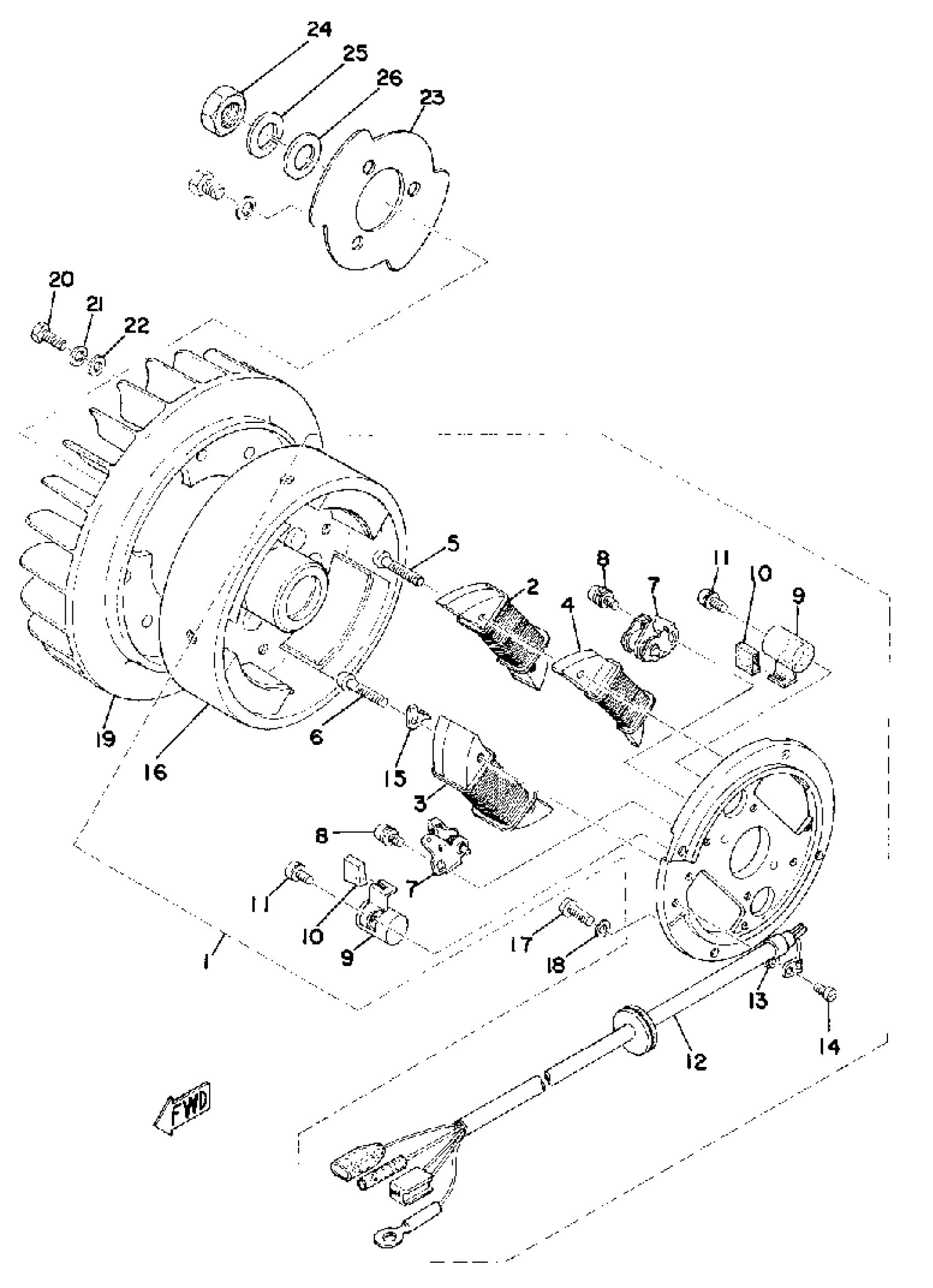
Yamaha GS340A 1977 FLYWHEEL MAGNETO Diagram
#
Description
Price
1
FLYWHL MAGNETO ASSEMBLY
(8A0-81300-20-00)
Unavailable
2
. COIL, SOURCE
8A0-81312-20-00
Unavailable
3
COIL, LIGHTING 2
(8A0-81314-20-00)
Unavailable
4
COIL, LIGHTING 1
(8A0-81313-20-00)
Unavailable
7
. CONTACT BRKR ASSEMBLY
806-81321-20-00
Unavailable
9
. CONDENSER 1
8A0-81325-20-00
Unavailable
10
. LUBRICATOR
116-81331-20-00
Unavailable
12
LEAD WIRE ASSEMBLY
(8A0-81315-20-00)
Unavailable
13
CLAMP
(810-81328-20-00)
Unavailable
15
PLATE, TIMING
(812-81332-20-00)
Unavailable
16
ROTOR ASSEMBLY
(838-81350-20-00)
Unavailable
17
SCREW, PAN
98507-06014-00
Unavailable
18
WASHER, PLAIN (646)
92990-06600-00
Unavailable
19
FAN
838-12611-00-00
Unavailable
20
BOLT
90101-06127-00
Unavailable
21
WASHER, SPRING
92995-06100-00
Unavailable
22
WASHER, PLATE
90201-06M08-00
Unavailable
23
COVER, HOLE
(812-81362-00-00)
Unavailable
24
NUT
90170-16425-00
Unavailable
25
WASHER(JN5)
92907-16100-00
Unavailable
26
WASHER, PLATE (32N)
90201-163G6-00
Unavailable
