- Partiron
- OEM Parts
- Suzuki
- Motorcycle
- 1983
- GS300L (1983)
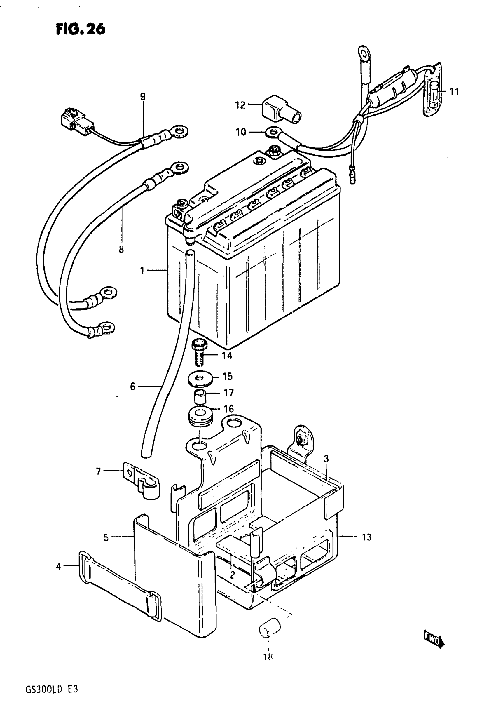
BATTERY
Suzuki GS300L (1983) BATTERY Diagram
#
Description
Price
1
NO DESCRIPTION AVAILABLE This part replaces 33610-11600.
33610-11010
Unavailable
5
COVER, BATTERY
33661-44101
Unavailable
9
WIRE, BATT (-) | MODEL D This part replaces 33850-44500.
33860-44501
Unavailable
10
FUSE CASE ASSY | Includes Item(s) 11
36740-11500
Unavailable
13
HOLDER, BATTERY
41540-11500
Unavailable
