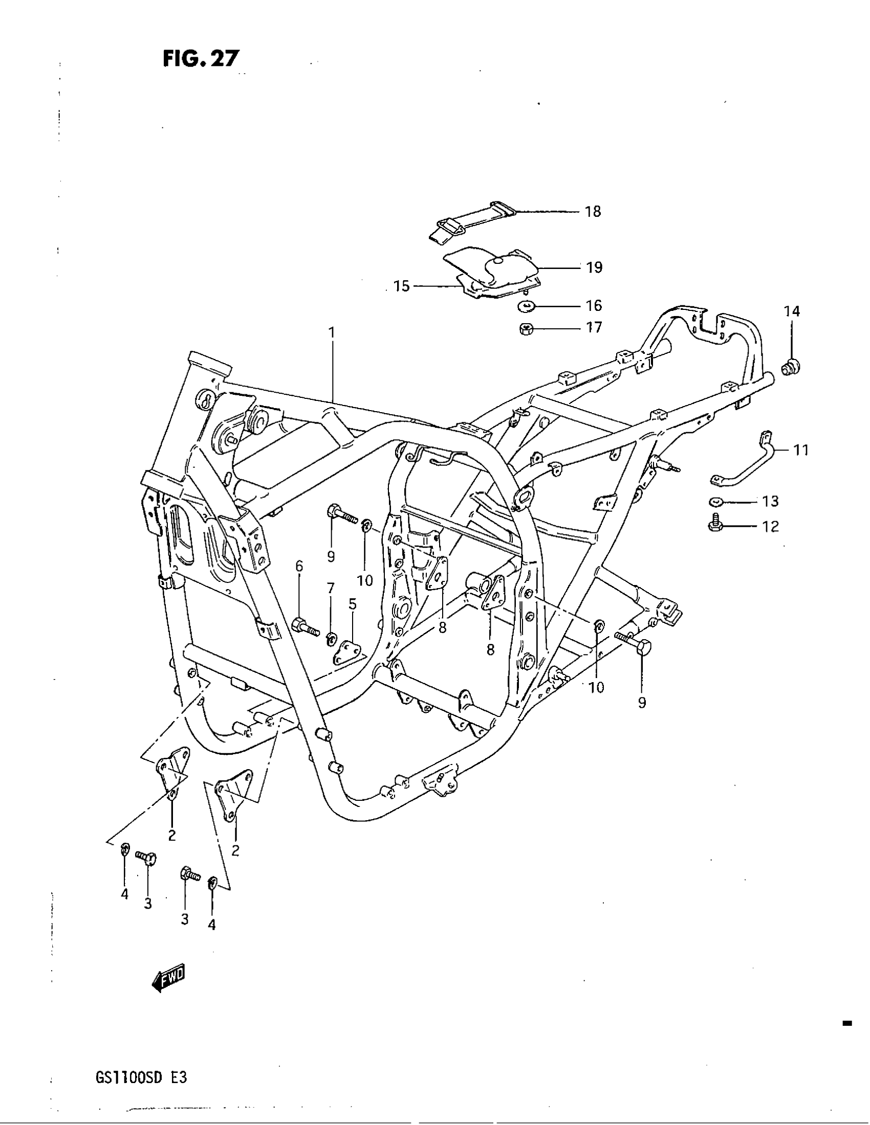
Suzuki GS1100S (1983) FRAME Diagram
#
Description
Price
1
FRAME (SILVER)
41100-49303-13L
Unavailable
2
PLATE, NO.1 (SILVER)
41911-45950-13L
Unavailable
5
PLATE, NO.2 (SILVER)
41921-49000-13L
Unavailable
8
PLATE, NO.3 (SILVER)
41940-49000-13L
Unavailable
9
BOLT This part replaces 09104-08020.
09104-08030
Unavailable
11
GRIP, FRAME HANDLE
41610-49301
Unavailable
19
TOOL ASSY This part replaces 09800-00239.
09800-21068
Unavailable
