- Partiron
- OEM Parts
- Suzuki
- Motorcycle
- 1983
- GS1100GL (1983)
ELECTRICAL
Suzuki GS1100GL (1983) ELECTRICAL Diagram
#
Description
Price
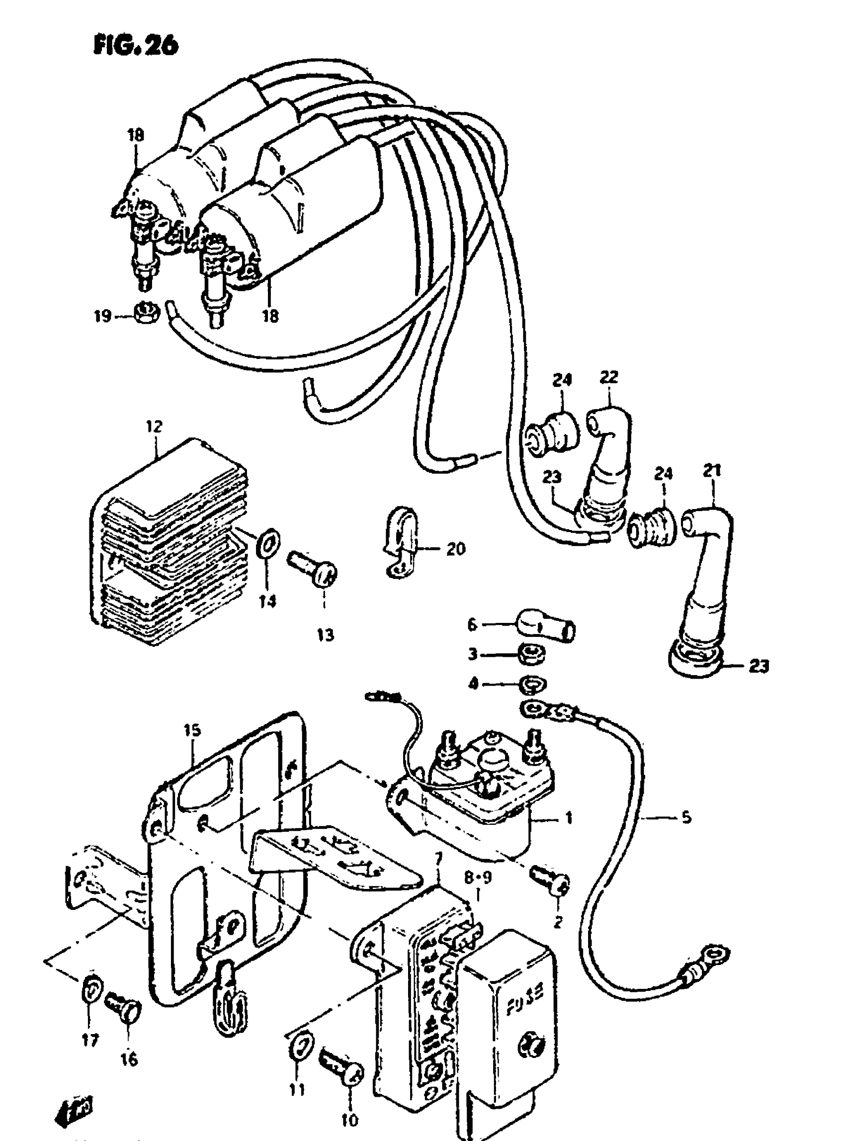
5
WIRE, STARTING LEAD | MODEL Z This part replaces 33850-10300.
33850-00A01
Unavailable
5
WIRE, STARTING LEAD | MODEL D This part replaces 33850-49410.
33850-00A01
Unavailable
6
CAP, TERMINAL | HAVE SLIT
31861-49400
Unavailable
7
BOX ASSY,FUSE | Includes Item(s) 8 - 9 This part replaces 36740-49400.
36740-45D00
Unavailable
12
RECTIFIER ASSY This part replaces 32800-49420.
32800-43X51
Unavailable
15
PLATE, ELECTRIC PARTS HOLDER
47410-49100
Unavailable
