- Partiron
- OEM Parts
- Suzuki
- Motorcycle
- 1983
- GS1100G (1983)
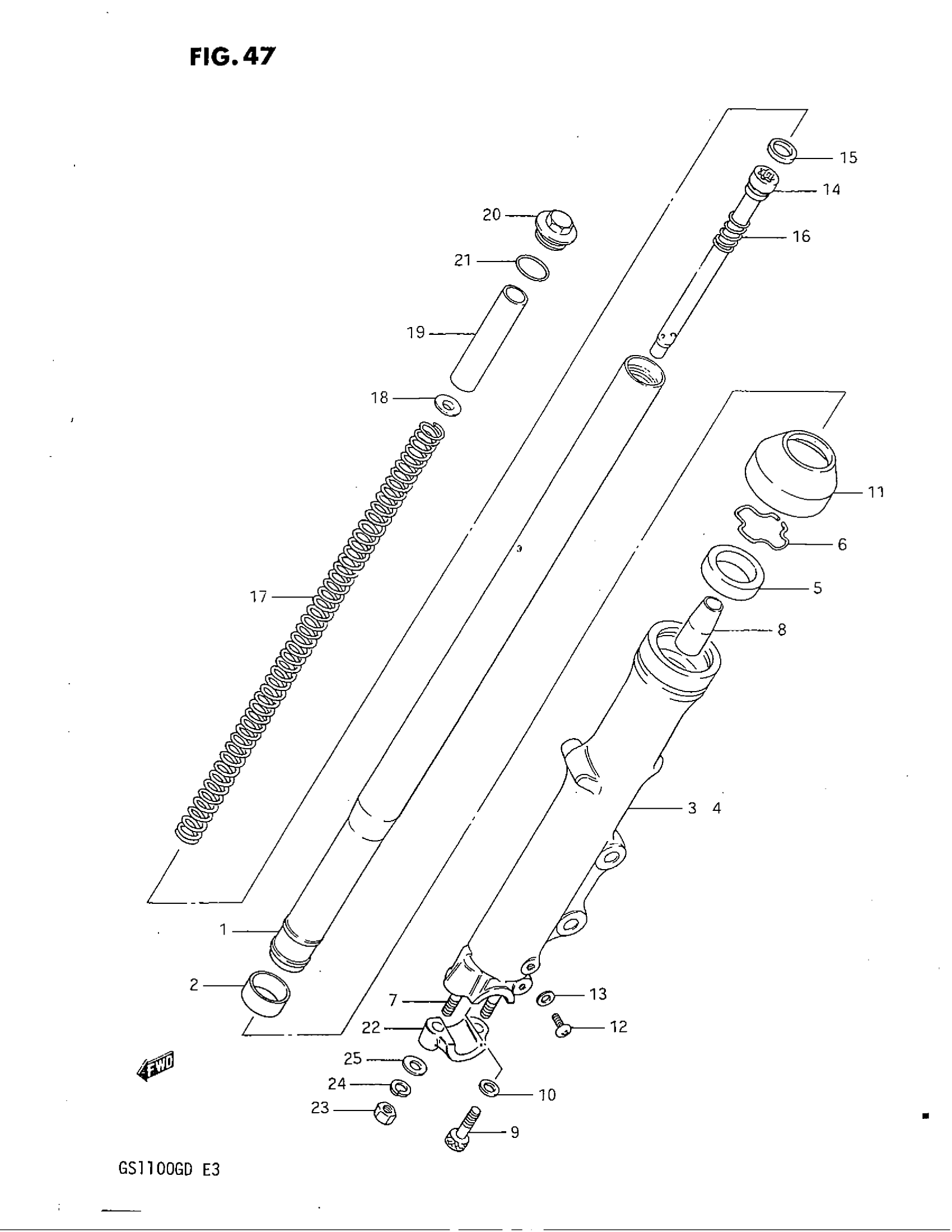
FRONT FORK (MODEL D)
Suzuki GS1100G (1983) FRONT FORK (MODEL D) Diagram
#
Description
Price
DAMPER ASSY, RH
51103-49470
Unavailable
DAMPER ASSY, LH | Includes Item(s) 1 - 25
51104-49470
Unavailable
1
INNER TUBE
51110-49470
Unavailable
3
OUTER TUBE, RH
51130-49400
Unavailable
4
OUTER TUBE, LH
51140-49400
Unavailable
14
CYLINDER
51146-49000
Unavailable
16
SPRING
51177-49000
Unavailable
17
SPRING
51171-49470
Unavailable
18
GUIDE, SPRING
51172-38010
Unavailable
19
SPACER
51176-49470
Unavailable
20
CAP
51351-49470
Unavailable
21
O RING
51117-16310
Unavailable
22
HOLDER, AXLE
51132-49000
Unavailable
