- Partiron
- OEM Parts
- Suzuki
- Motorcycle
- 1983
- GS1100E (1983)
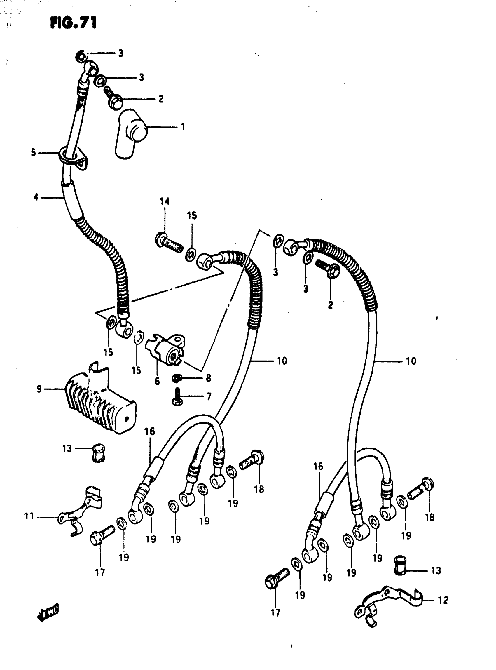
FRONT BRAKE HOSE
Suzuki GS1100E (1983) FRONT BRAKE HOSE Diagram
#
Description
Price
4
HOSE, BRAKE NO.1
59480-49531
Unavailable
4
HOSE, BRAKE NO.1 | GS1100ESU
59480-49521
Unavailable
5
GUIDE, HOSE
59243-31010
Unavailable
6
JOINT, BRAKE HOSE
59491-49500
Unavailable
9
COVER
59495-34300
Unavailable
10
HOSE BRAKE This part replaces 59240-49300.
59240-49400
Unavailable
11
CLAMP, HOSE RH | GS1100ESD
59260-45901
Unavailable
12
CLAMP, HOSE LH
59270-45901
Unavailable
12
CLAMP, HOSE LH | GS1100ESD
59270-49500
Unavailable
13
BUSHING
59244-49000
Unavailable
16
NO DESCRIPTION AVAILABLE This part replaces 59520-45901.
59520-49500
Unavailable
17
UNION BOLT | MODEL ZMODEL D
09360-10021
Unavailable
