- Partiron
- OEM Parts
- Suzuki
- Motorcycle
- 1982
- GS1000S (1982)
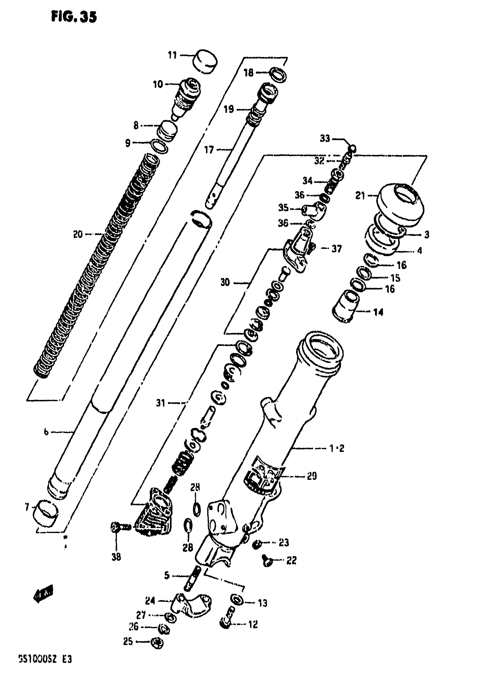
FRONT DAMPER
Suzuki GS1000S (1982) FRONT DAMPER Diagram
#
Description
Price
0
DUMPER ASSY, RH
51103-49310
Unavailable
0
DUMPER ASSY, LH | Includes Item(s) 1 - 38
51104-49310
Unavailable
1
NO DESCRIPTION AVAILABLE This part replaces 51130-49300.
51130-49301
Unavailable
2
NO DESCRIPTION AVAILABLE This part replaces 51140-49300.
51140-49301
Unavailable
6
INNER TUBE
51110-49300
Unavailable
8
PISTON, FREE
51172-45110
Unavailable
10
CAP
51351-49200
Unavailable
14
PIECE OIL LOCK
51195-45420
Unavailable
17
CYLINDER
51146-49300
Unavailable
19
SPRING, REACTION
51177-49000
Unavailable
20
SPRING
51171-49310
Unavailable
24
HOLDER, AXLE
51132-49000
Unavailable
29
EMBLEM This part replaces 51149-44130.
51149-04700
Unavailable
30
MODULATOR PLUNGER SET This part replaces 51700-44831.
51700-44832
Unavailable
31
NO DESCRIPTION AVAILABLE This part replaces 51700-49810.
51700-49811
Unavailable
32
BREATHER, AIR
51778-44130
Unavailable
34
BOLT, UNION
51753-49300
Unavailable
35
UNION
51765-49300
Unavailable
