Partiron

Suzuki GS1000S (1980) CYLINDER HEAD COVER Diagram

#

Description
Price

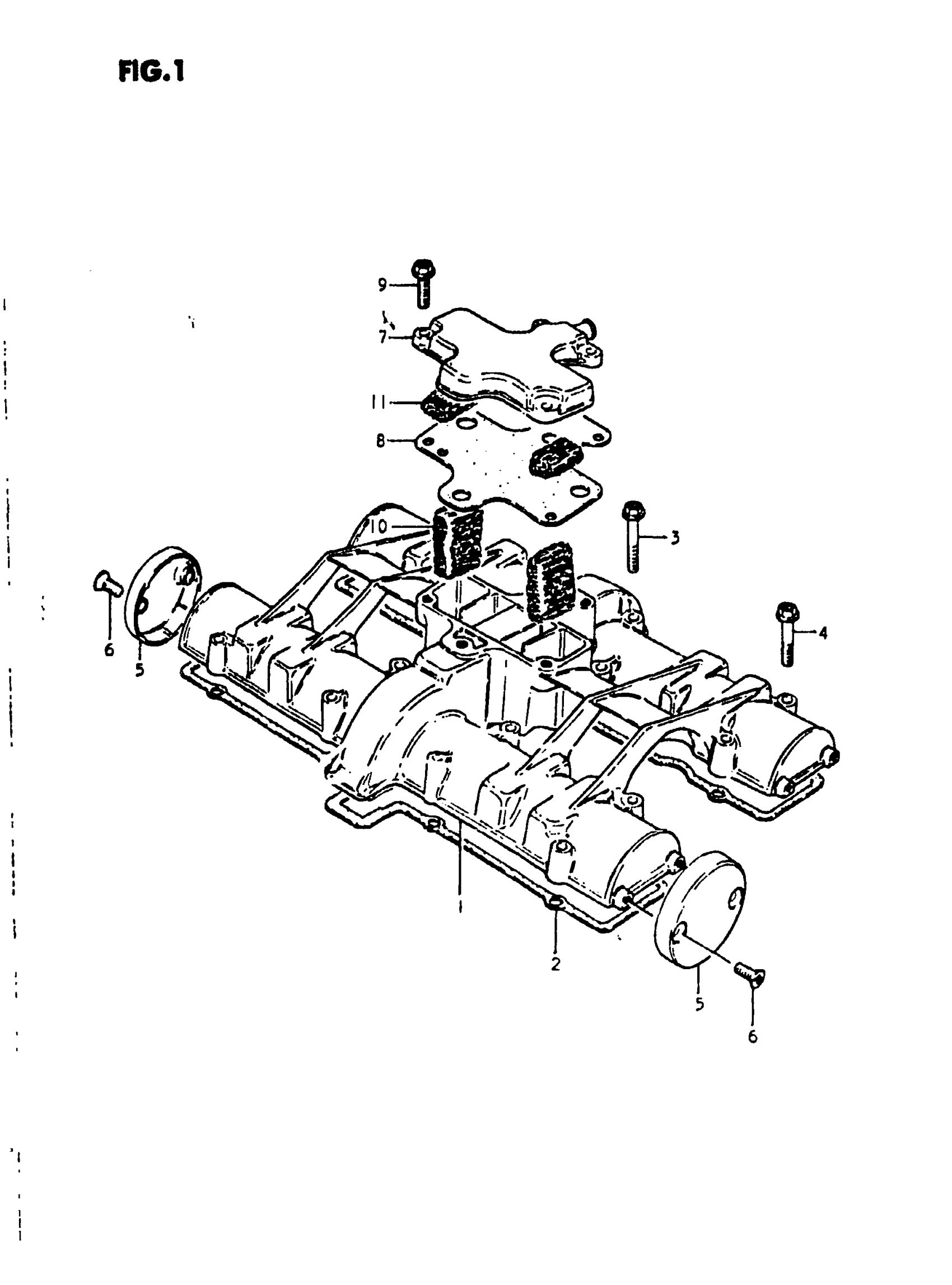
1

COVER, CYLINDER HEAD

11171-49002

Unavailable

2

GASKET,CYL HD C This part replaces 11173-49002.

11173-49004-H17

Unavailable

3

BOLT This part replaces 01517-06408.

01550-06407

$2.69

4

BOLT This part replaces 01517-06358.

01550-06357

$2.77

5

CAP, CYLINDER HEAD COVER

11174-49000

Unavailable

6

SCREW This part replaces 02132-05127.

02122-05127

$1.93

7

COVER, BREATHER This part replaces 11176-47010.

11176-47042

Unavailable

8

BREATHER CVR GA This part replaces 11177-47001.

11177-47001-H17

$14.97

9

BOLT This part replaces 01517-06258.

01550-06257

$2.30

10

SEPARATOR,OIL B This part replaces 11186-45000.

11186-45001

Unavailable

11

SEPARATOR,OIL B This part replaces 11187-45000.

11187-45001

Unavailable