Partiron

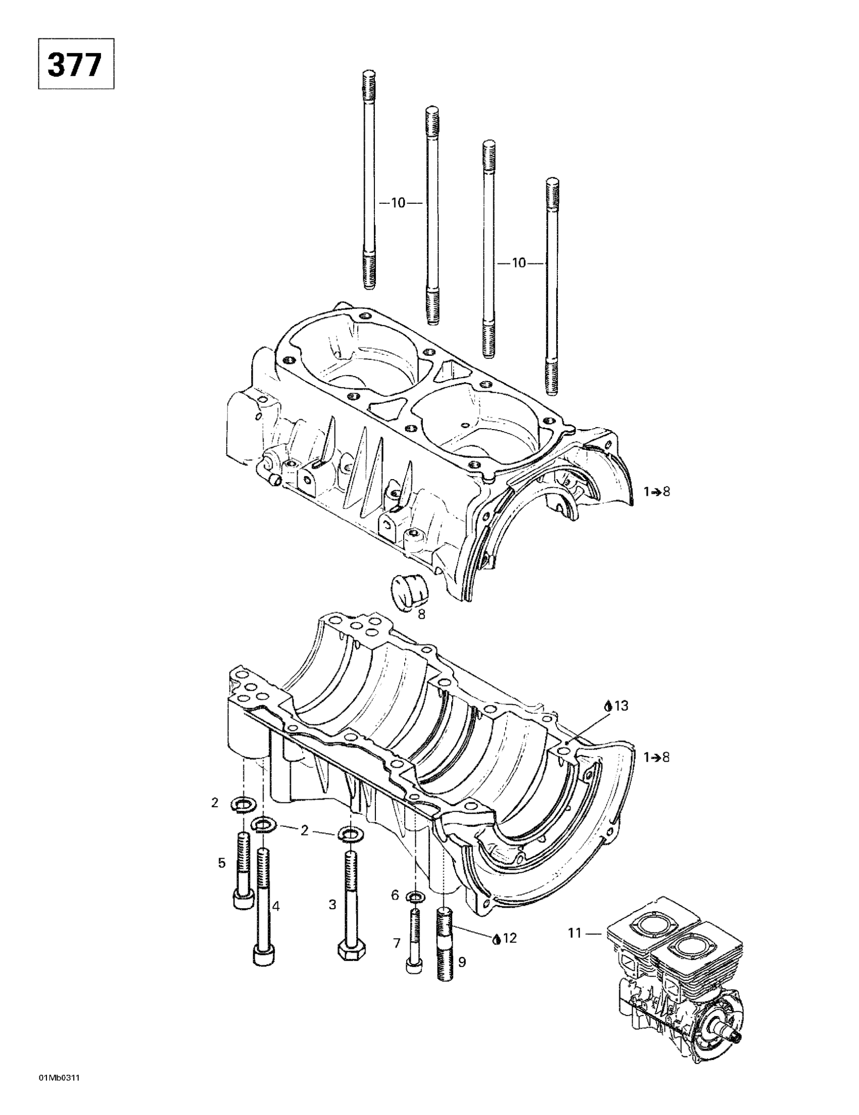
Ski-Doo Grand Touring 380 F/550 F, 2003 Crankcase (377) Diagram

#

Description
Price

1

CRANKCASE ASS'Y - Call your local BRP dealership | Includes 1 to 7

420888483

Unavailable

2

Washer-Lock Din.128

420945832

$1.15

3

Hex. Screw M8 X 70

420841201

$3.06

4

ALLEN SCREW M8 X 75 - Call your local BRP dealership

420841831

Unavailable

5

ALLEN SCREW M8 X 50 - Call your local BRP dealership

420841566

Unavailable

6

WASHER-LOCK DIN.128 - Call your local BRP dealership

420945751

Unavailable

7

SOCKET HEAD SCREW M6 X 40 - Call your local BRP dealership

420241816

$1.59

8

Cable Grommet

420860962

$13.16

9

Stud M10 X 29/20

420940190

Unavailable

10

STUD M8 X 167 - Call your local BRP dealership

420841149

Unavailable

11

Short Block Ass'y | 380 F.

420037704

Unavailable

12

Loctite 243, 10 ml

293800060

$21.49

13

Sealing Compound Loctite 5366 310Ml

420297907

$54.99