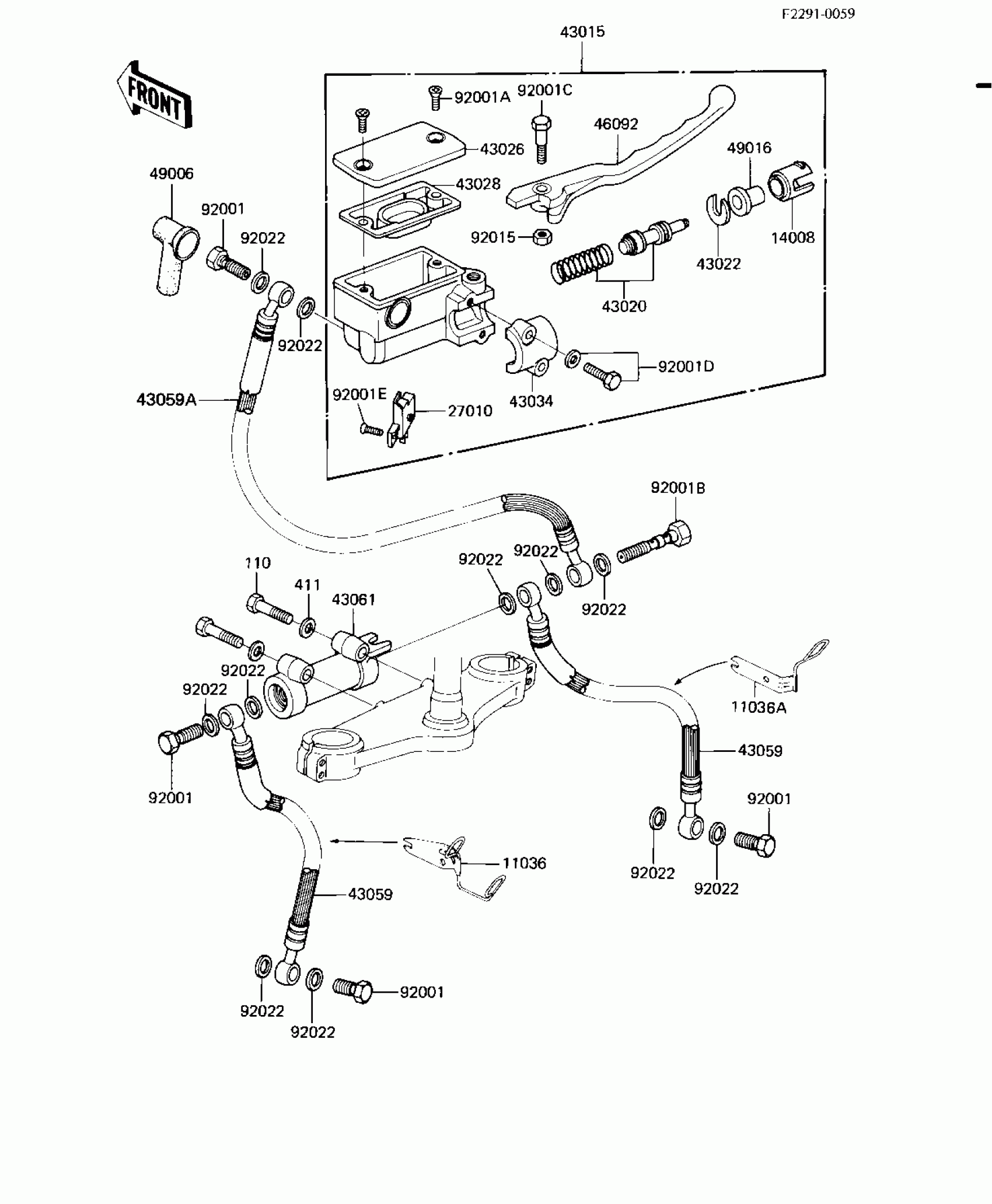
Kawasaki GPz FRONT MASTER CYLINDER Diagram
#
Description
Price
11036
BRACKET,BRAKE HOSE,FR
11036-1170
Unavailable
11036A
BRACKET,BRAKE HOSE,FR
11036-1171
Unavailable
43015
CYLINDER-ASSY-MASTER
43015-1085
Unavailable
43026
CAP-BRAKE,FRONT
43026-1017
Unavailable
43034
HOLDER-BRAKE,MASTER C
43034-1013
Unavailable
92001D
BOLT,6X25,W/WASHER,BLACK
92001-1513
Unavailable
92015
NUT,LOCK,6MM,BLACK
92015-1191
Unavailable
110
BOLT 6X35
110R0635
Unavailable
