Yamaha GPX433G 1975 FRAME Diagram
#
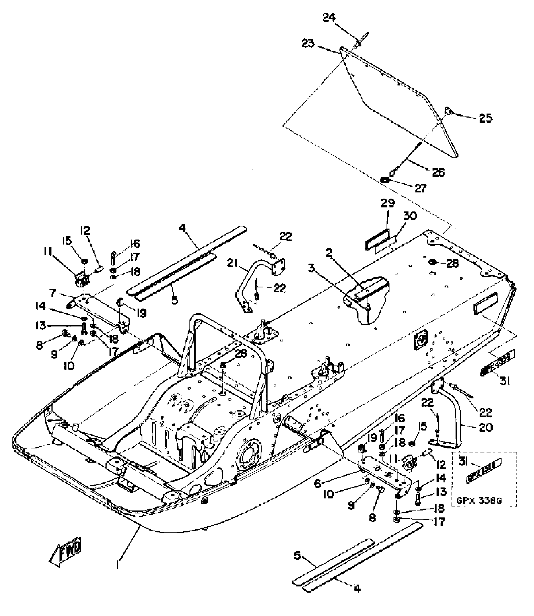
0
PANEL, SUB FRAME 1 (8E7-21912-00)
878-21912-00-00
Unavailable
1
FRAME
(888-21910-00-00)
Unavailable
2
PROTECTOR, FRAME
888-21978-00-00
Unavailable
3
RIVET, FLAT HEAD
99100-40114-00
Unavailable
4
COVER, FOOTREST
878-27413-00-00
Unavailable
5
COVER, FOOTREST
878-27423-00-00
Unavailable
6
BRACKET 3
(878-23883-00-00)
Unavailable
7
BRACKET 4
(878-23884-00-00)
Unavailable
10
WASHER, PLAIN
92990-08200-00
Unavailable
11
CLAMP 3
878-77137-01-00
Unavailable
12
STOPPER
878-77188-00-00
Unavailable
13
BOLT,HEXAGON
97017-06008-00
Unavailable
14
WASHER, PLATE
90201-06747-00
Unavailable
15
NUT, SELF-LOCKING
95617-06100-00
Unavailable
16
BODY, LATCH 1
(878-77171-00-00)
Unavailable
17
NUT, HEXAGON
95380-06600-00
Unavailable
18
YBS66-6 WASHER, PLAIN
92990-06200-00
Unavailable
19
CLAMP
90464-04010-00
Unavailable
20
RNFCMNT, FTRST 1FOOTREST 1
888-21926-00-00
Unavailable
21
RNFCMNT, FTRST 2FOOTREST 2
888-21936-00-00
Unavailable
23
FLAP
8F2-77595-00-00
Unavailable
24
RIVET, BLIND (8R6)
90267-48086-00
Unavailable
25
PLUG, SPEC''L SHAPE
90338-10024-00
Unavailable
26
STOPPER, FLAP
878-77596-00-00
Unavailable
27
CLIP
(90468-16059-00)
Unavailable
28
ORNAMENT, INSTRUMENT PANEL 2
810-77716-00-00
Unavailable
29
REAR REFLECTOR ASSY
81G-85130-00-00
Unavailable
30
TAPE, REFLECTOR
878-85133-00-00
Unavailable
31
EMBLEM 4
888-77354-00-00
Unavailable
31
EMBLEM 4
(889-77354-00-00)
Unavailable
