- Partiron
- OEM Parts
- Yamaha
- snowmobile
- 1974
- GPX433F 1974
FRAME GPX338F - GPX433F
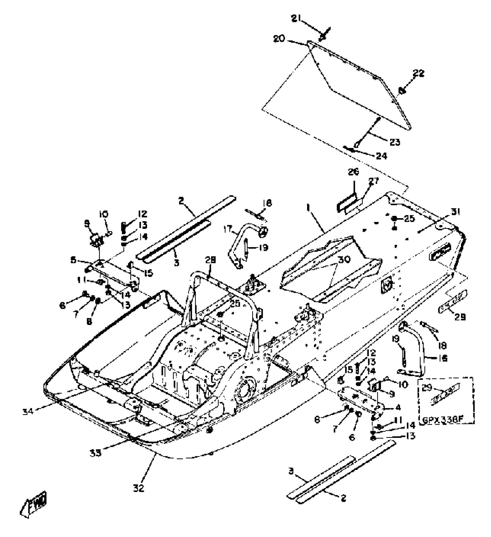
Yamaha GPX433F 1974 FRAME GPX338F - GPX433F Diagram
#
1
FRAME
(878-21910-01-00)
Unavailable
2
COVER, FOOTREST
878-27413-00-00
Unavailable
3
COVER, FOOTREST
878-27423-00-00
Unavailable
4
BRACKET 3
(878-23883-00-00)
Unavailable
5
BRACKET 4
(878-23884-00-00)
Unavailable
8
WASHER, PLAIN
92990-08200-00
Unavailable
9
CLAMP 3
878-77137-01-00
Unavailable
10
STOPPER
878-77188-00-00
Unavailable
11
CLIP
90468-06023-00
Unavailable
12
BODY, LATCH 1
(878-77171-00-00)
Unavailable
13
NUT, HEXAGON
95380-06600-00
Unavailable
15
CLAMP
90464-04010-00
Unavailable
16
RNFCMNT, FTRST 1FOOTREST 1
888-21926-00-00
Unavailable
17
RNFCMNT, FTRST 2FOOTREST 2
888-21936-00-00
Unavailable
18
RIVET, BLIND (8H4)
90267-48053-00
Unavailable
19
RIVET, BLIND
90267-48032-00
Unavailable
20
FLAP
8F2-77595-00-00
Unavailable
21
RIVET, BLIND (8R6)
90267-48086-00
Unavailable
22
PLUG, SPEC''L SHAPE
90338-10024-00
Unavailable
23
STOPPER, FLAP
878-77596-00-00
Unavailable
24
CLIP
(90468-12028-00)
Unavailable
25
ORNAMENT, INSTRUMENT PANEL 2
810-77716-00-00
Unavailable
26
REAR REFLECTOR ASSY
81G-85130-00-00
Unavailable
27
TAPE, REFLECTOR
878-85133-00-00
Unavailable
28
BAND, SWITCH CORD
437-83936-11-00
Unavailable
29
EMBLEM 4
(878-77354-00-00)
Unavailable
29
EMBLEM 4
879-77354-00-00
Unavailable
30
PROTECTOR, FRAME
878-21978-00-00
Unavailable
31
RIVET, FLAT HEAD
(90263-04008-00)
Unavailable
32
PANEL, SUB FRAME 1 (8E7-21912-00)
878-21912-00-00
Unavailable
33
PATCH 1
(878-21961-09-00)
Unavailable
34
PATCH 2
(878-21962-09-00)
Unavailable
