- Partiron
- OEM Parts
- Yamaha
- waverunner
- 2005
- GP800AD (WaveRunner GP800R) F0WA 2005
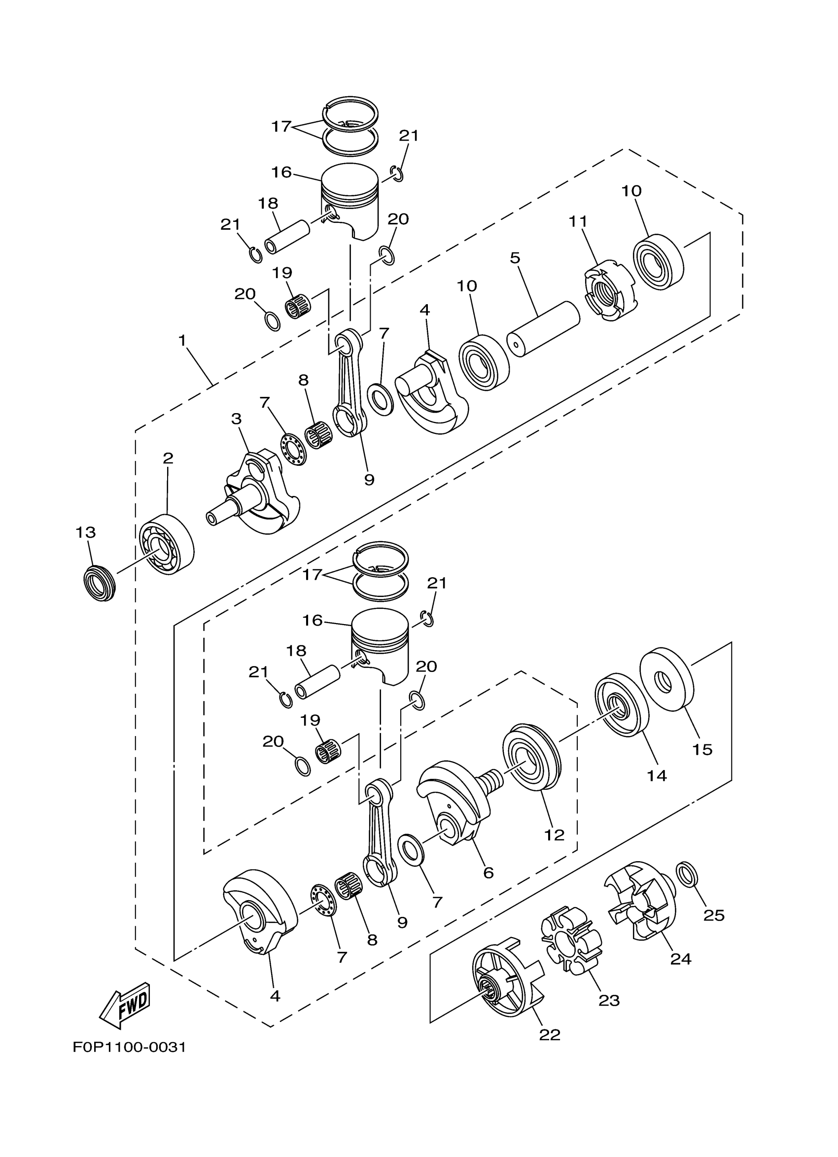
CRANKSHAFT PISTON
Yamaha GP800AD (WaveRunner GP800R) F0WA 2005 CRANKSHAFT PISTON Diagram
#
1
CRANKSHAFT ASSY
66E-11400-00-00
Unavailable
2
. BEARING
93305-307U0-00
Unavailable
3
. CRANK 1
66E-11412-00-00
Unavailable
4
. CRANK 2
66E-11422-00-00
Unavailable
5
. CRANK 3
66E-11431-00-00
Unavailable
6
. CRANK 4
66E-11442-00-00
Unavailable
7
. WASHER, CRANK PIN
66E-11685-00-00
Unavailable
8
. BEARING
93310-627U6-00
Unavailable
9
. ROD, CONNECTING
66E-11651-00-00
Unavailable
10
. BEARING
93306-208U1-00
Unavailable
11
. SEAL, LABYRINTH 1
66E-11515-00-00
Unavailable
12
. BEARING
93306-308U1-00
Unavailable
13
. OIL SEAL
93103-35M03-00
Unavailable
14
OIL SEAL
93101-34001-00
Unavailable
15
OIL SEAL
93101-34002-00
Unavailable
16
PISTON (STD, RED)
66E-11631-01-A0
Unavailable
16
PISTON (STD, ORANGE)
66E-11631-01-B0
Unavailable
16
PISTON (STD, GREEN)
66E-11631-01-C0
Unavailable
16
PISTON (STD, PURPLE)
66E-11631-01-D0
Unavailable
17
PISTON RING SET (STD)
66E-11603-01-00
Unavailable
18
PIN, PISTON
60T-11633-00-00
Unavailable
19
BEARING
93310-422U2-00
Unavailable
20
WASHER, PLATE
90201-22M04-00
Unavailable
21
CLIP, PISTON PIN
66E-11634-00-00
Unavailable
22
FLANGE, COUPLING
66E-45813-10-94
Unavailable
23
RUBBER SHAFT COUPLING
66E-4581J-00-00
Unavailable
24
FLANGE, COUPLING 1
68N-45593-00-94
Unavailable
25
WASHER, PLATE
90201-24800-00
Unavailable
