Yamaha GP760Y (GP760) GP7C3 2000 FUEL TANK Diagram
#
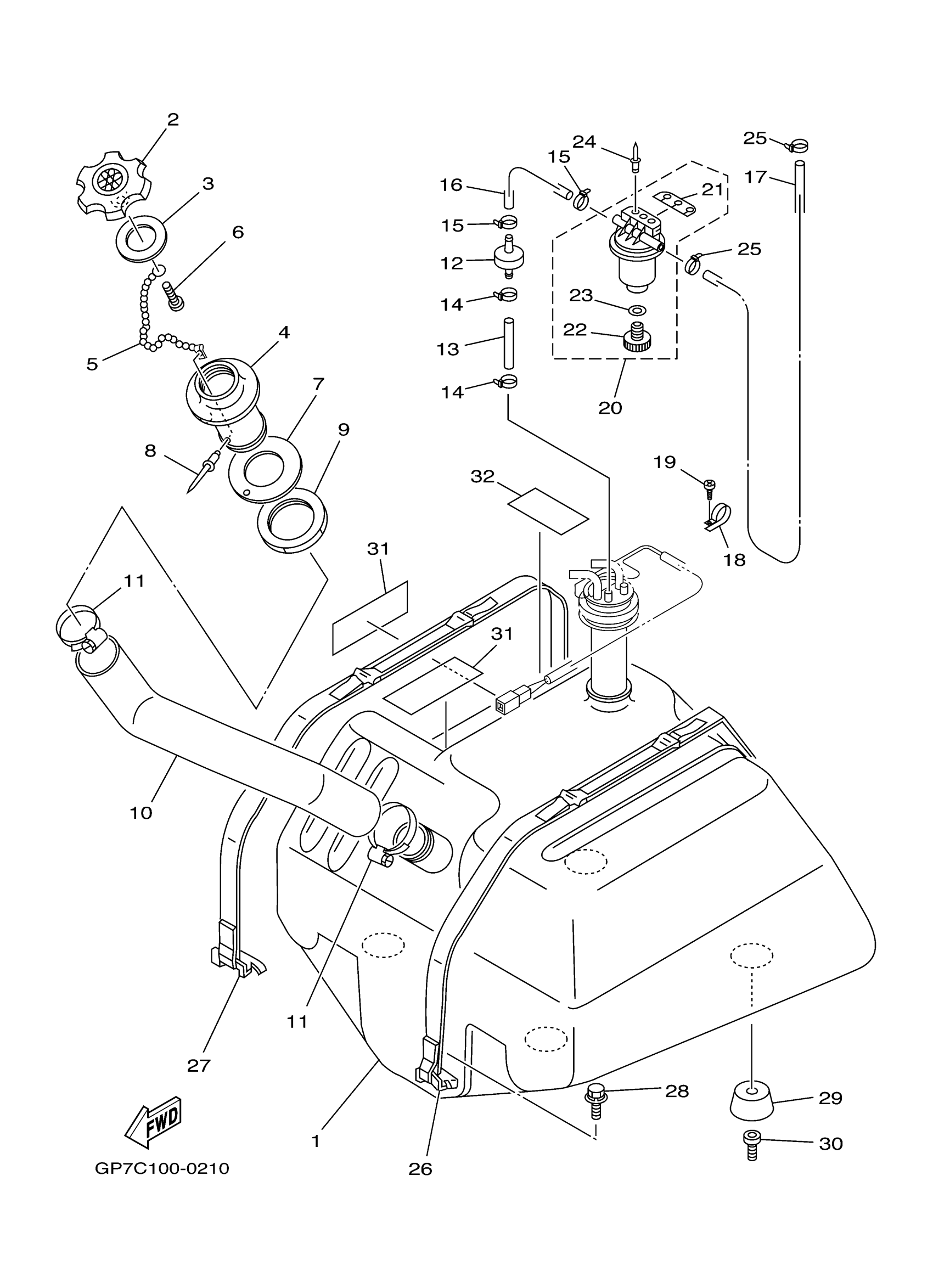
1
TANK, FUEL
GU2-U7711-00-00
Unavailable
2
CAP, FUEL FILLER
GP7-U7831-01-00
Unavailable
3
PACKING
GP7-U7832-01-00
Unavailable
4
SOCKET
GP7-U7833-00-00
Unavailable
5
CHAIN BALL
GP7-U7835-00-00
Unavailable
6
SCREW, TRUSS HEAD TAPPING
90169-049U1-00
Unavailable
7
PACKING FUEL FILLER
GP7-U7834-00-00
Unavailable
8
RIVET, BLIND
90267-329UR-00
Unavailable
9
NUT, FUEL FILLER
GP7-U783F-00-00
Unavailable
10
HOSE
GP8-U7844-00-00
Unavailable
11
BAND, HOSE 55
90601-155U4-00
Unavailable
12
CHECK VALVE
EU0-67767-31-00
Unavailable
13
HOSE, AIR VENT 3
GP7-U785H-00-00
Unavailable
14
CLAMP
90465-10098-00
Unavailable
15
CLAMP
90465-10098-00
Unavailable
16
HOSE, AIR VENT 3
GP7-U7856-00-00
Unavailable
17
HOSE, AIR VENT
GP7-U785G-10-00
Unavailable
18
CLIP, NYLON 18
90600-918U3-00
Unavailable
19
SCREW, TAPPING
9778R-60116-00
Unavailable
20
FILTER, VENT ASSY
F2F-6214A-00-00
Unavailable
21
. PLATE, FILTER
EW2-62142-00-00
Unavailable
22
. PLUG, DRAIN
70R-24543-00-00
Unavailable
23
. O-RING
70R-24489-00-00
Unavailable
24
RIVET (EU0)
90267-48938-00
Unavailable
25
CLAMP
90465-10098-00
Unavailable
26
BELT, TANK 1
GJ1-67743-01-00
Unavailable
27
BELT, TANK 1
GJ8-67743-01-00
Unavailable
28
BOLT, WITH WASHER
90119-08800-00
Unavailable
29
DAMPER, FUEL TANK
GH1-U782B-00-00
Unavailable
30
BOLT, HEXAGON SOCKET HEAD
90110-089U1-00
Unavailable
31
MAT 1
GJ1-U759B-00-00
Unavailable
32
MAT 2
GJ1-U759C-00-00
Unavailable
