- Partiron
- OEM Parts
- Yamaha
- snowmobile
- 1976
- GP440 1976
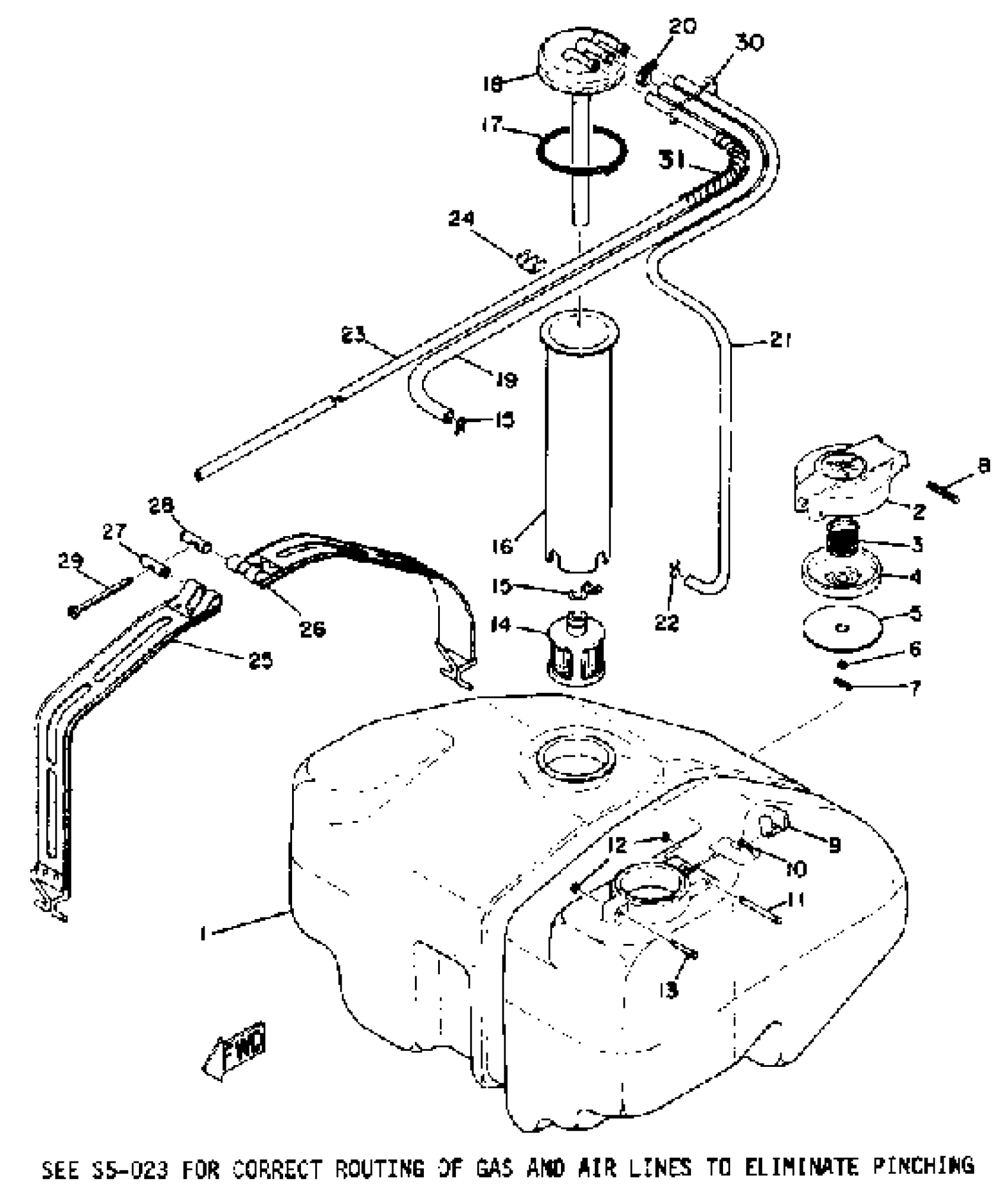
FUEL TANK
Yamaha GP440 1976 FUEL TANK Diagram
#
Description
Price
1
FUEL TANK
865-24111-00-00
Unavailable
2
BODY, CAP
8A5-24611-00-00
Unavailable
5
GASKET, CAP
256-24612-00-00
Unavailable
7
PIN, SPRING
91690-30016-00
Unavailable
10
SPRING, TORSION (813-24637-00)
90508-08003-00
Unavailable
11
PIN, SPEC''L SHAPE
90249-03016-00
Unavailable
14
FILTER ASSY
8H5-24560-00-00
Unavailable
16
PIPE, SUCTION 2
865-24336-00-00
Unavailable
17
SPRING, TENSION (8R4)
90506-06261-00
Unavailable
18
PIPE, SUCTION 1
(865-24335-00-00)
Unavailable
19
HOSE (SILVER 5)
90446-11121-00
Unavailable
20
CLIP(3BM)
90467-10135-00
Unavailable
21
HOSE (806-24319-00)
90446-09051-00
Unavailable
22
CLAMP, HOSE
90460-09001-00
Unavailable
23
HOSE
90446-09057-00
Unavailable
24
CLIP (867)
90468-15020-00
Unavailable
25
BAND, TNK FITTING 1
865-24173-00-00
Unavailable
26
BAND, TNK FITTING 2
(865-24199-00-00)
Unavailable
27
CLAMP
806-24135-00-00
Unavailable
28
NUT, SPEC''L SHAPE (806-24146-00)
90179-05030-00
Unavailable
29
SCREW, SPEC''L SHAPE (821-24176-00)
90149-05006-00
Unavailable
30
CLAMP
(90465-11025-00)
Unavailable
31
PROTECTOR, PIPE
(8E4-24328-00-00)
Unavailable
