- Partiron
- OEM Parts
- Yamaha
- snowmobile
- 1973
- GP338 1973
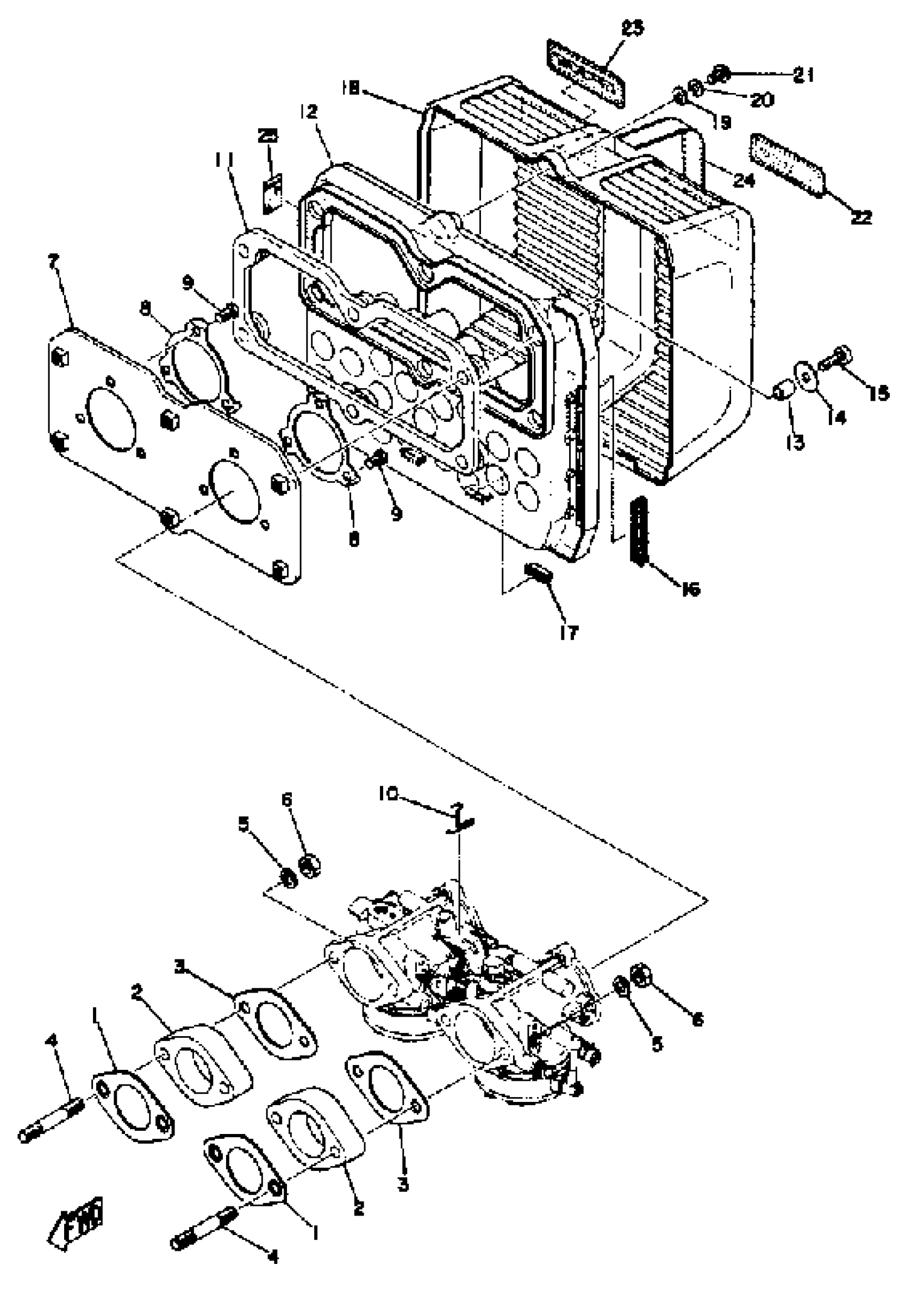
INTAKE
Yamaha GP338 1973 INTAKE Diagram
#
Description
Price
1
GASKET, MANIFOLD
810-13556-09-00
Unavailable
2
MANIFOLD, INTAKE
807-13555-01-00
Unavailable
3
GASKET
810-13563-09-00
Unavailable
4
JOINT, CARBURETOR
(824-13565-00-00)
Unavailable
6
NOZZLE
824-13552-00-00
Unavailable
10
WASHER, PLAIN
92990-08200-00
Unavailable
11
BOLT, STUD
(90116-08051-00)
Unavailable
12
GASKET
810-13566-09-00
Unavailable
13
MANIFOLD, INTAKE
(812-13555-70-00)
Unavailable
14
SPACER
(810-13576-00-00)
Unavailable
15
. NUT
95380-08700-00
Unavailable
