Partiron

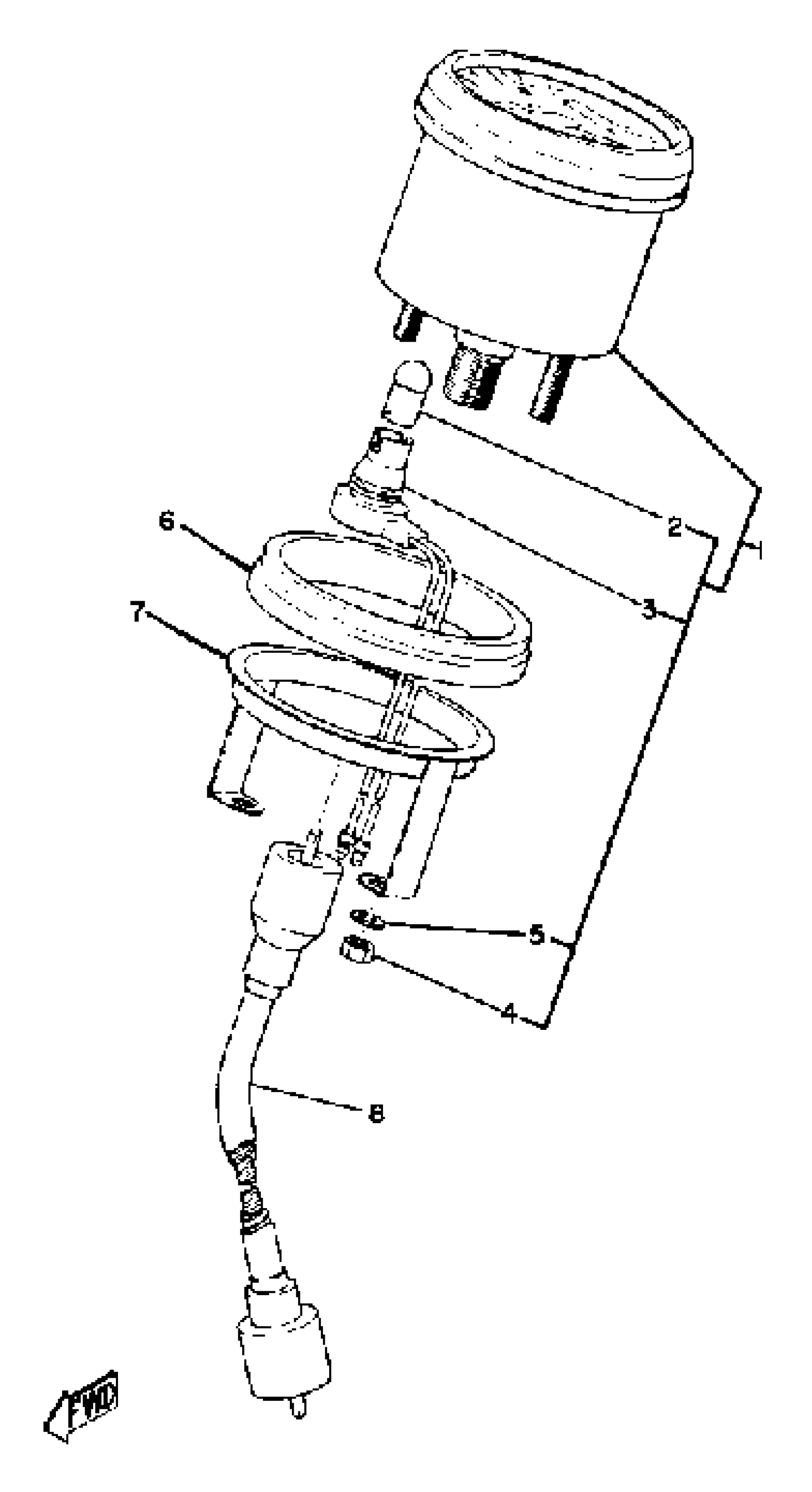
Yamaha GP300 1976 SPEEDOMETER Diagram

#

Description
Price

1

SPEEDOMETER ASSEMBLY

(863-83510-41-00)

Unavailable

2

BULB (12V-3.4W)

123-83516-21-00

$4.26

3

SOCKET, METER

(861-83536-40-00)

Unavailable

4

NUT, HEXAGON (663)

95380-05600-00

$8.49

5

YBS67-5 WASHER, SPRING

92990-05100-00

$0.35

6

. DAMPER

861-83523-40-00

Unavailable

7

. PLATE, FITTING

861-83514-40-00

Unavailable

8

SPEEDOMETER CABLE

839-83550-01-00

Unavailable