- Partiron
- OEM Parts
- Yamaha
- waverunner
- 2026
- GP1900BC (GP HO) F7L6 2026
STEERING 2
Yamaha GP1900BC (GP HO) F7L6 2026 STEERING 2 Diagram
#
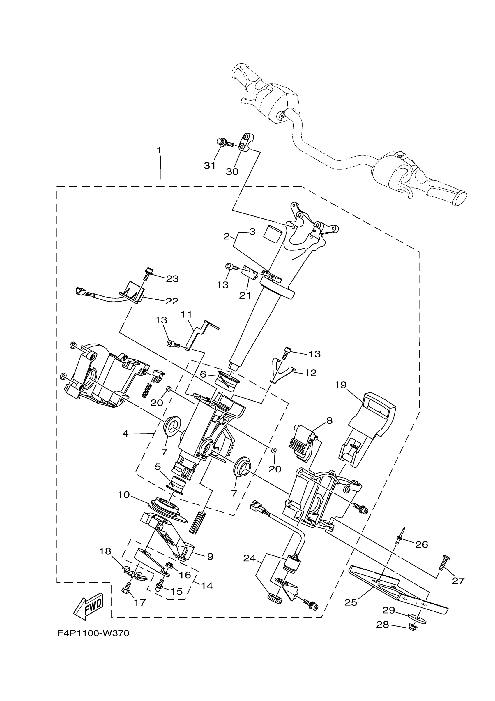
1
STEERING MASTER AS
F4P-61400-02-00
Unavailable
2
. SHAFT ASSY
F4P-67410-00-00
Unavailable
3
.. PIPE, SEAL
F4P-61435-00-00
Unavailable
4
. TUBE
F4P-6773D-00-00
Unavailable
5
.. BUSH
F1S-6134M-00-00
Unavailable
6
. BUSH
F2C-6134M-00-00
Unavailable
7
.. BUSH
F1S-6134M-10-00
Unavailable
8
. LOCK 1
F1S-61782-00-00
Unavailable
9
. CABLE STOPPER ASSY
F1S-6146A-00-00
Unavailable
10
. SEAL, RUBBER
F1S-6143C-00-00
Unavailable
11
. STAY 1
F4P-65938-00-00
Unavailable
12
. STAY 2
F4P-65939-00-00
Unavailable
13
SCREW
F4P-613C1-10-00
Unavailable
14
ARM ASSY.
F1S-6153R-02-00
Unavailable
15
STUD, JOINT BALL
EU0-61461-02-00
Unavailable
16
NUT, SELF-LOCKING
95720-06300-00
Unavailable
17
BOLT
F1W-61355-10-00
Unavailable
18
. PLATE, RETAINING
F1W-6142B-00-00
Unavailable
19
. LEVER ASSY
F4P-6151M-00-00
Unavailable
20
. PLUG
F1W-6358B-00-00
Unavailable
21
MAGNET
F2X-6838C-01-00
Unavailable
22
SENSOR, MAGNET
F2X-6838B-02-00
Unavailable
23
BOLT
F1W-61516-10-00
Unavailable
24
BUZZER
F1S-68341-00-00
Unavailable
25
PLATE, RETAINING
F1X-U1554-00-00
Unavailable
26
RIVET, BLIND
90267-489U6-00
Unavailable
27
BOLT
90101-08069-00
Unavailable
28
NUT, LOCK
F3Y-U142L-00-00
Unavailable
29
WASHER
F1W-U725E-00-00
Unavailable
30
HOLDER, HANDLE UPPER
EU0-23814-32-00
Unavailable
31
BOLT, WITH WASHER
90119-089U1-00
Unavailable
