- Partiron
- OEM Parts
- Yamaha
- waverunner
- 2026
- GP1900BC (GP HO) F7L6 2026
ELECTRICAL 2
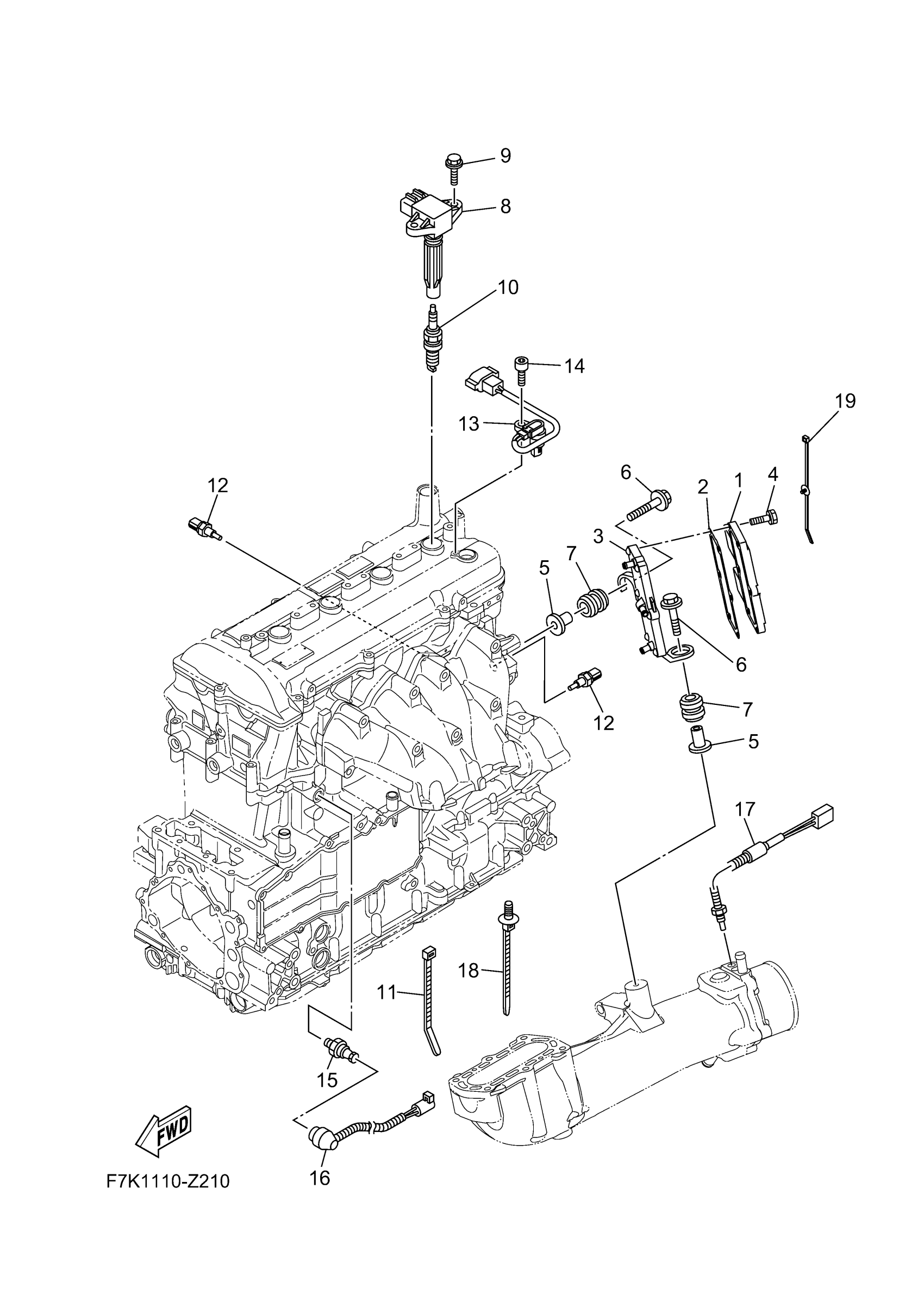
Yamaha GP1900BC (GP HO) F7L6 2026 ELECTRICAL 2 Diagram
#
Description
Price
1
RECTIFIER & REGULATOR ASSY
6EK-81960-10-00
Unavailable
2
PLATE, RECTIFIER FITTING
6ET-81975-01-00
Unavailable
4
BOLT, WITH WASHER
90119-06MA4-00
Unavailable
5
COLLAR
90387-08M37-00
Unavailable
6
BOLT, WITH WASHER
90119-08187-00
Unavailable
7
GROMMET
90480-22M15-00
Unavailable
10
PLUG, SPARK (NGK LFR6A-00)
LFR-6A000-00-00
Unavailable
13
SENSOR, CAM POSITION
60E-85896-02-00
Unavailable
14
BOLT,SOCKET
91380-06016-00
Unavailable
15
OIL PRESSURE SWITCH ASSY
68V-82504-00-00
Unavailable
16
LEAD WIRE ASSY
6S5-81315-01-00
Unavailable
17
THERMOSENSOR ASSY
6AA-85790-00-00
Unavailable
18
CLAMP
90464-20005-00
Unavailable
19
CLAMP
90464-31002-00
Unavailable
