Partiron

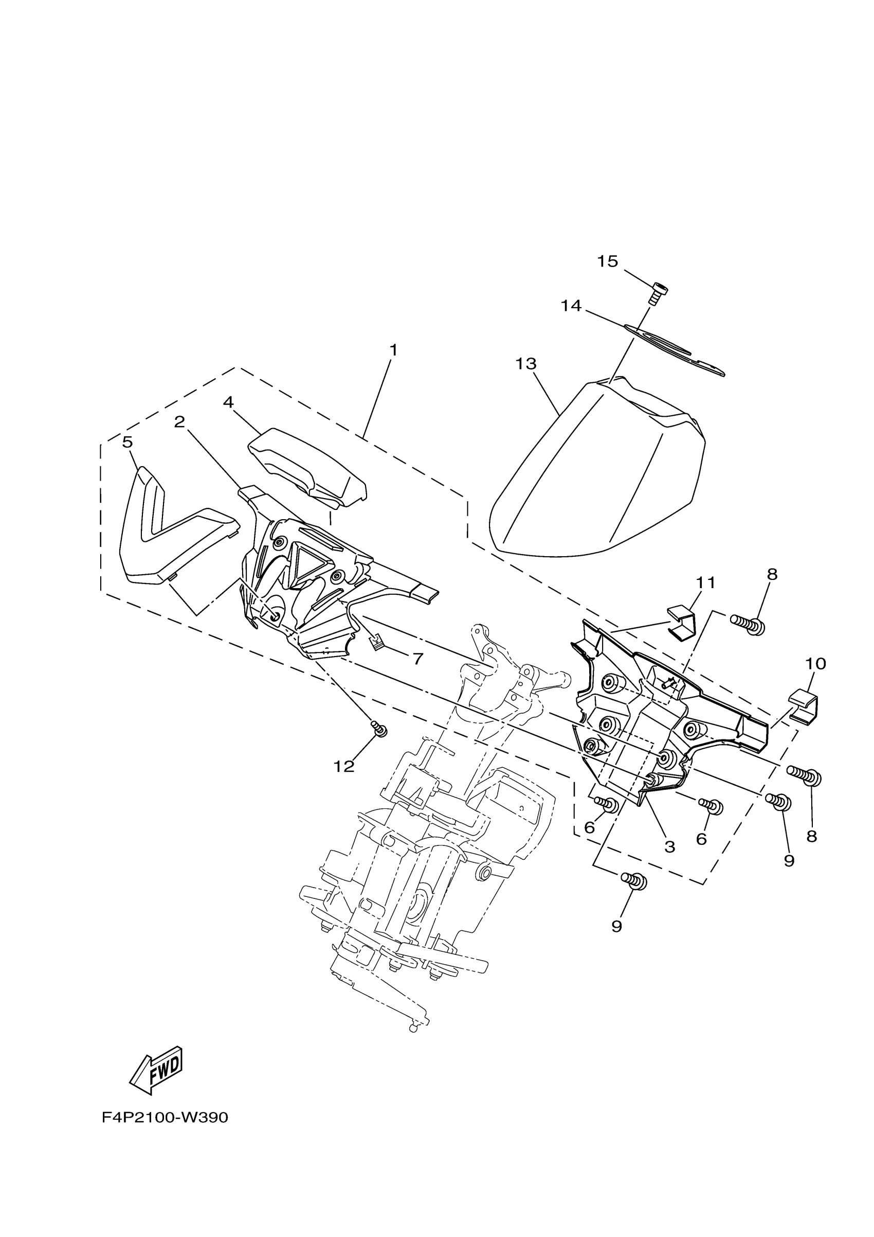
Yamaha GP1900BB (GP HO) F7L4 2025 STEERING 3 Diagram

#

Description
Price

1

STEERING PAD COMP

F4P-U142A-00-00

$125.99

2

. PAD, STEERING 1

F4P-U143D-00-00

Unavailable

3

. PAD, STEERING 2

F4P-U143E-00-00

Unavailable

4

. COVER, PAD

F4P-U142D-00-00

Unavailable

5

. BASE, PAD

F4P-U142M-00-00

Unavailable

6

SCREW

F2S-U13C1-00-00

Unavailable

7

NUT

F3X-U517E-00-00

Unavailable

8

SCREW

F3X-U7823-12-00

Unavailable

9

BOLT

F3Y-U2624-09-00

Unavailable

10

CLIP

F4P-U153K-00-00

Unavailable

11

CLIP

F4P-U153K-10-00

Unavailable

12

SCREW

F2S-U13C1-00-00

Unavailable

13

PAD, STEERING 3

F4P-U143L-00-00

Unavailable

14

PAD, STEERING

F4P-U1421-00-00

Unavailable

15

SCREW, BINDING

90154-06016-00

Unavailable