- Partiron
- OEM Parts
- Yamaha
- waverunner
- 2017
- GP1800S (GP1800) F3P1 2017
JET UNIT 2
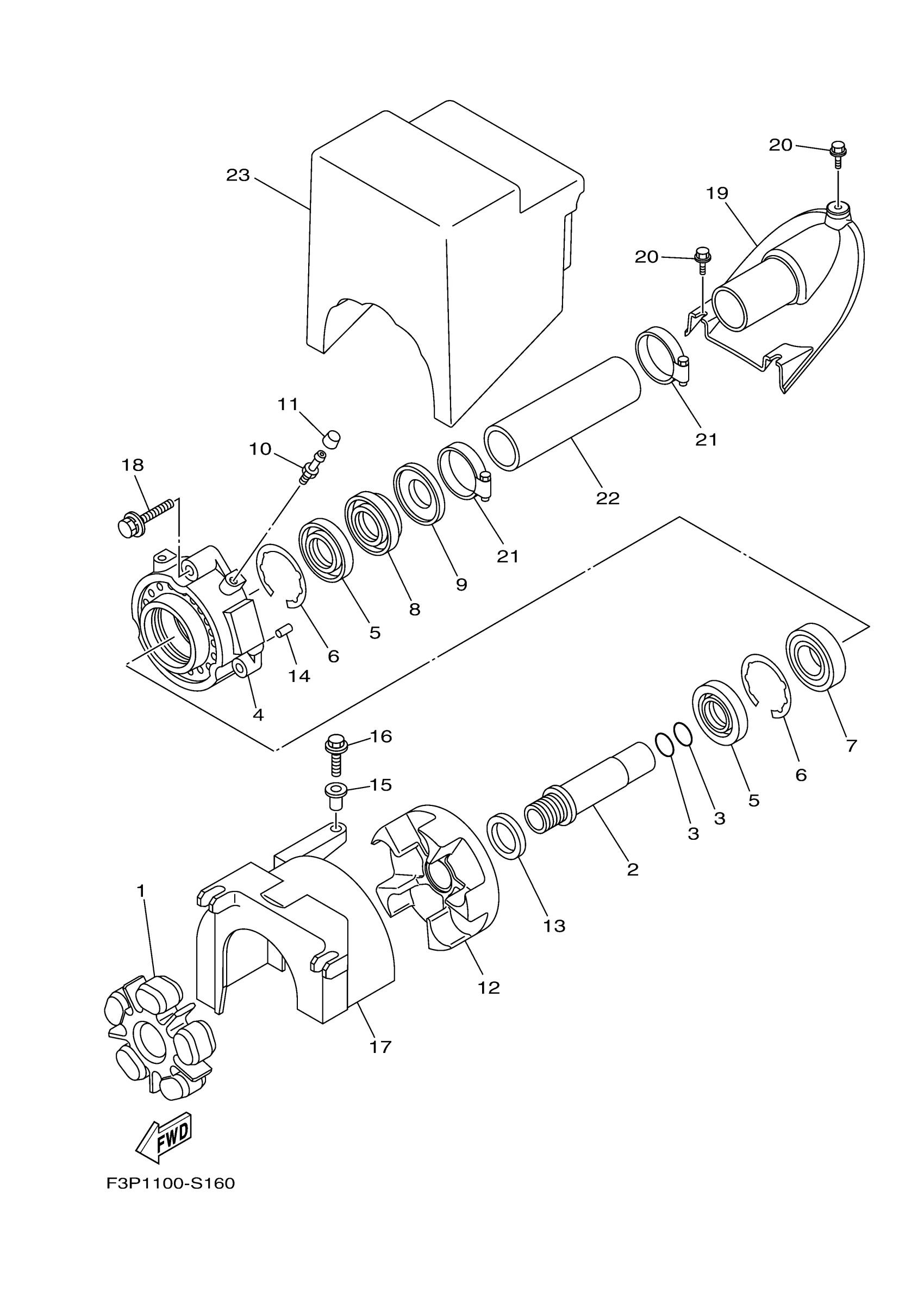
Yamaha GP1800S (GP1800) F3P1 2017 JET UNIT 2 Diagram
#
Description
Price
1
RUBBER SHAFT COUPL
6BH-4581J-01-00
Unavailable
2
SHAFT, COUPLER
6S5-R1323-00-00
Unavailable
4
HOUSING, BEARING
6S5-G5332-00-00
Unavailable
5
. OIL SEAL
93102-29008-00
Unavailable
6
CIRCLIP
93450-66156-00
Unavailable
7
BEARING
93306-206Y8-00
Unavailable
8
OIL SEAL
93102-29009-00
Unavailable
9
WASHER, THRUST
6ET-45613-00-00
Unavailable
10
NIPPLE, GREASE
93700-06M03-00
Unavailable
12
FLANGE, COUPLING 1
6S5-G5593-00-00
Unavailable
13
WASHER
6ET-E2289-00-00
Unavailable
16
BOLT, WITH WASHER
90119-06892-00
Unavailable
17
COVER
6S5-R1381-01-00
Unavailable
18
BOLT, WITH WASHER
90119-089U1-00
Unavailable
19
JOINT, PIPE
F2N-U883E-00-00
Unavailable
20
BOLT
90109-06832-00
Unavailable
21
BAND, HOSE 55
90601-155U4-00
Unavailable
22
PIPE 1
F2M-U883B-00-00
Unavailable
23
PAD
F1K-U892D-00-00
Unavailable
