- Partiron
- OEM Parts
- Yamaha
- waverunner
- 2021
- GP1800DW (HO WITH AUDIO) F4M2 2021
ELECTRICAL 2
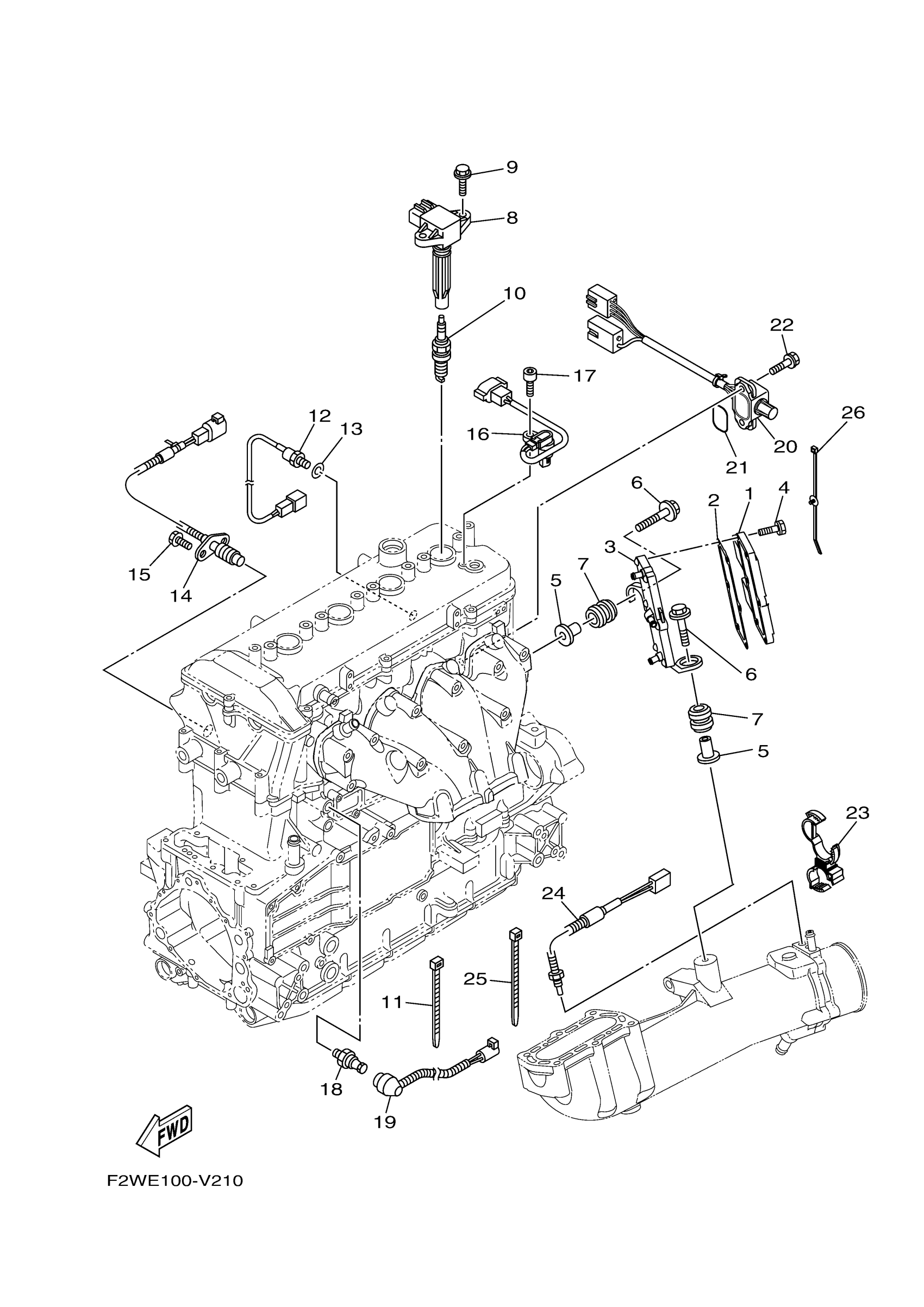
Yamaha GP1800DW (HO WITH AUDIO) F4M2 2021 ELECTRICAL 2 Diagram
#
Description
Price
1
RECTIFIER & REGULATOR ASSY
6EK-81960-10-00
Unavailable
2
PLATE, RECTIFIER FITTING
6ET-81975-01-00
Unavailable
3
COVER, RECTIFIER
6ET-81972-00-00
Unavailable
4
BOLT, WITH WASHER
90119-06MA4-00
Unavailable
5
COLLAR
90387-08M37-00
Unavailable
6
BOLT, WITH WASHER
90119-08187-00
Unavailable
7
GROMMET
90480-22M15-00
Unavailable
10
PLUG, SPARK (NGK LFR6A-00)
LFR-6A000-00-00
Unavailable
12
THERMOSENSOR ASSY
61A-85790-01-00
Unavailable
13
WASHER, PLATE
92990-10600-00
Unavailable
14
THERMO SWITCH ASSY
6CR-82560-00-00
Unavailable
15
BOLT, HEXAGON W/W DEEP RECESS
97E95-06516-00
Unavailable
16
SENSOR, CAM POSITION
60E-85896-02-00
Unavailable
17
BOLT,SOCKET
91380-06016-00
Unavailable
18
OIL PRESSURE SWITCH ASSY
68V-82504-00-00
Unavailable
19
LEAD WIRE ASSY
6S5-81315-01-00
Unavailable
20
EARTH PLATE COMP.
6CS-8273J-11-00
Unavailable
21
O-RING (341)
93210-32172-00
Unavailable
22
BOLT, WITH WASHER
90119-06MA3-00
Unavailable
23
CLAMP
90464-20008-00
Unavailable
24
THERMOSENSOR ASSY
6AA-85790-00-00
Unavailable
25
CLAMP
90464-20005-00
Unavailable
26
CLAMP
90464-31002-00
Unavailable
