Partiron

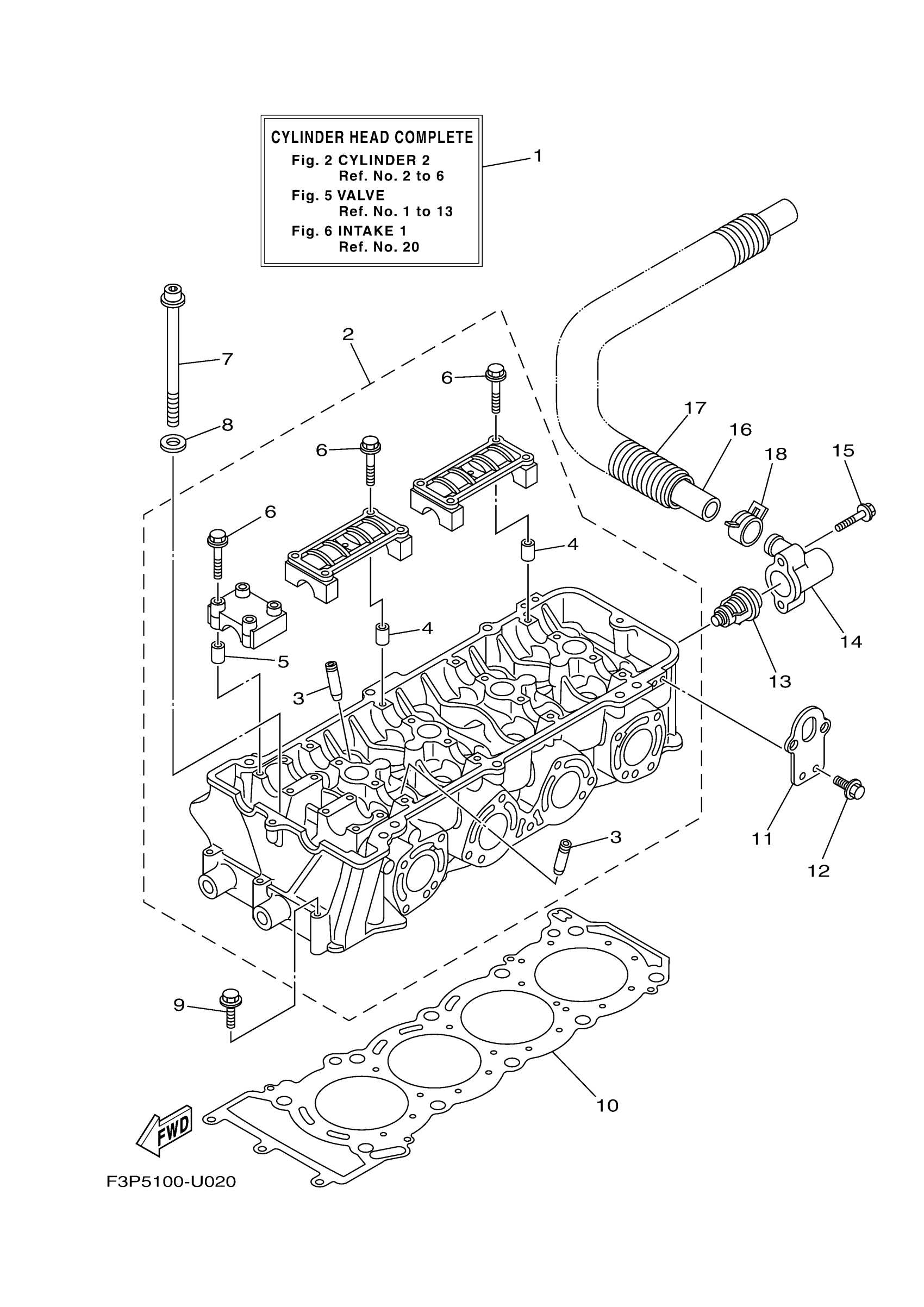
Yamaha GP1800CW (GP1800R SVHO WITH AUDIO) F4P2 2021 CYLINDER 2 Diagram

#

Description
Price

1

CYLINDER HEAD COMPLETE

6ET-W009A-21-94

Unavailable

2

CYLINDER HEAD ASSY

6S5-11102-20-00

Unavailable

3

. GUIDE, VALVE 1

6S5-11133-10-00

Unavailable

4

. PIN, DOWEL

91809-16002-00

Unavailable

5

. PIN, DOWEL

91809-16002-00

Unavailable

6

. BOLT, FLANGE

90105-07009-00

Unavailable

7

BOLT

6S5-12228-01-00

Unavailable

8

WASHER

6HL-12456-00-00

Unavailable

9

BOLT, WITH WASHER

97513-06555-00

Unavailable

10

GASKET, CYLINDER HEAD 1

6JC-11181-00-00

Unavailable

11

HANGER, ENGINE 2

6BH-1111E-00-00

Unavailable

12

BOLT, WITH WASHER

90119-06078-00

Unavailable

13

THERMOSTAT

6D3-12411-00-00

Unavailable

14

COVER, THERMOSTAT

6BH-12413-00-00

Unavailable

15

BOLT, FLANGE

90105-06035-00

Unavailable

16

HOSE 3

6S5-12578-00-00

Unavailable

17

TUBE (L850)

90447-28008-00

Unavailable

18

CLIP

90467-240A0-00

Unavailable