#
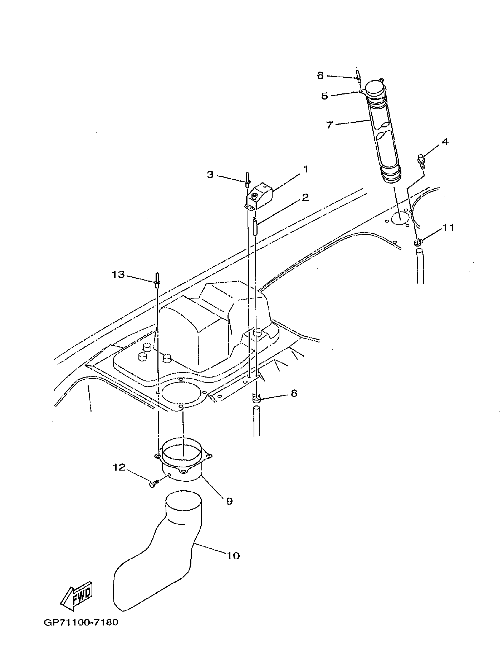
1
GP7-62159-02-00
Unavailable
2
EW2-62149-00-00
Unavailable
3
90267-48802-00
Unavailable
4
GJ3-6215F-00-00
Unavailable
5
GP7-U2139-00-00
Unavailable
6
90267-48802-00
Unavailable
7
GP7-U213G-02-00
Unavailable
8
90601-200U5-00
Unavailable
9
GP7-U2127-00-00
Unavailable
10
GP7-U213F-00-00
Unavailable
12
90269-07809-00
Unavailable
13
F3J-U516R-00-00
Unavailable
Edit ride
