- Partiron
- OEM Parts
- Suzuki
- Motorcycle
- 1983
- GN125Z (1983)
GEAR SHIFTING
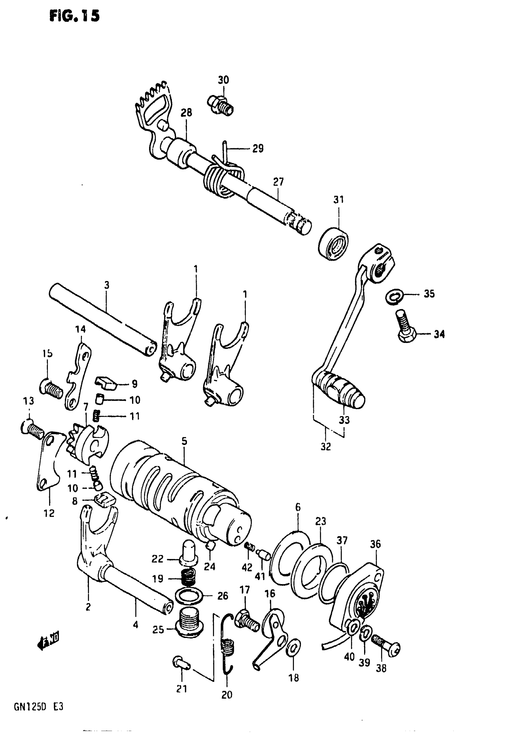
Suzuki GN125Z (1983) GEAR SHIFTING Diagram
#
Description
Price
1
FORK, GEAR SHIFT NO.2 This part replaces 25211-05200.
25221-08300
Unavailable
2
FORK, GEAR SHIFT NO.3 This part replaces 25231-05200.
25231-05201
Unavailable
5
NO DESCRIPTION AVAILABLE This part replaces 25310-05300.
25310-05330
Unavailable
12
LIFTER, GR SHIFT POLE This part replaces 25331-30000.
25331-30001
Unavailable
14
GUIDE, GEAR SHIFT CAM
25341-05200
Unavailable
16
STOPPER, CAM
25350-05200
Unavailable
20
SPRING
09443-08012
Unavailable
32
LEVER ASSY, GEAR SHIFTING | Includes Item(s) 33
25600-05320
Unavailable
