- Partiron
- OEM Parts
- Suzuki
- Motorcycle
- 1983
- GN125Z (1983)
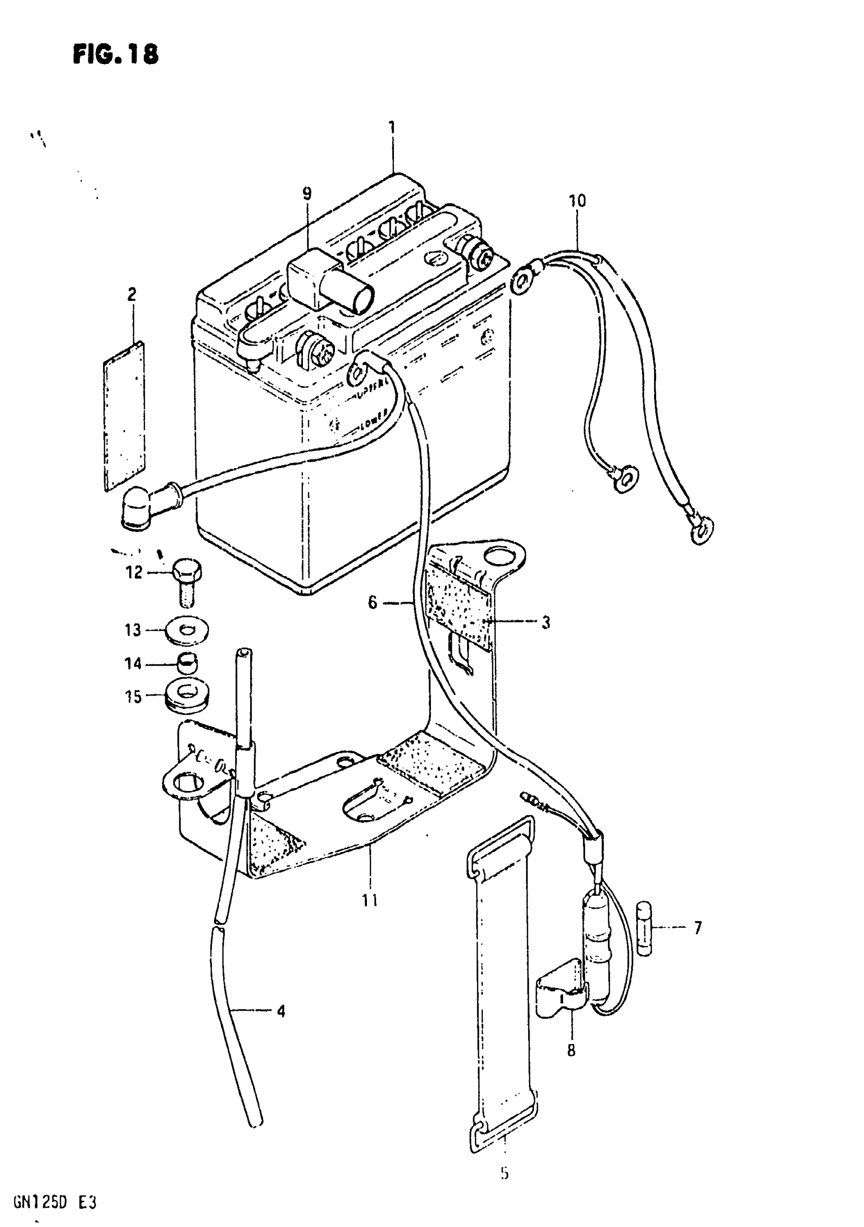
BATTERY
Suzuki GN125Z (1983) BATTERY Diagram
#
Description
Price
5
BAND
09462-00028
Unavailable
6
LEAD WIRE, BATTERY (+)
36740-11500
Unavailable
10
LEAD WIRE, BATTERY (-)
33850-34500
Unavailable
11
HOLDER, BATTERY This part replaces 41540-38300.
41540-38301
Unavailable
