- Partiron
- OEM Parts
- Suzuki
- Motorcycle
- 1983
- GN125Z (1983)
AIR CLEANER
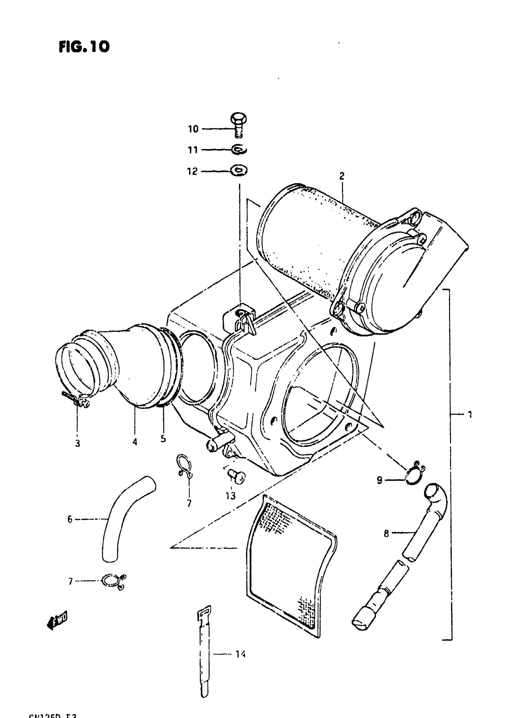
Suzuki GN125Z (1983) AIR CLEANER Diagram
#
Description
Price
1
CLEANER ASSY | MODEL Z This part replaces 13700-05300.
13700-05302
Unavailable
1
CLEANER ASSY | MODEL D; Includes Item(s) 2 - 9 This part replaces 13700-05301.
13700-05302
Unavailable
6
TUBE, BREATHER
13853-05300
Unavailable
