- Partiron
- OEM Parts
- Suzuki
- Motorcycle
- 1997
- GN125EV (1997)
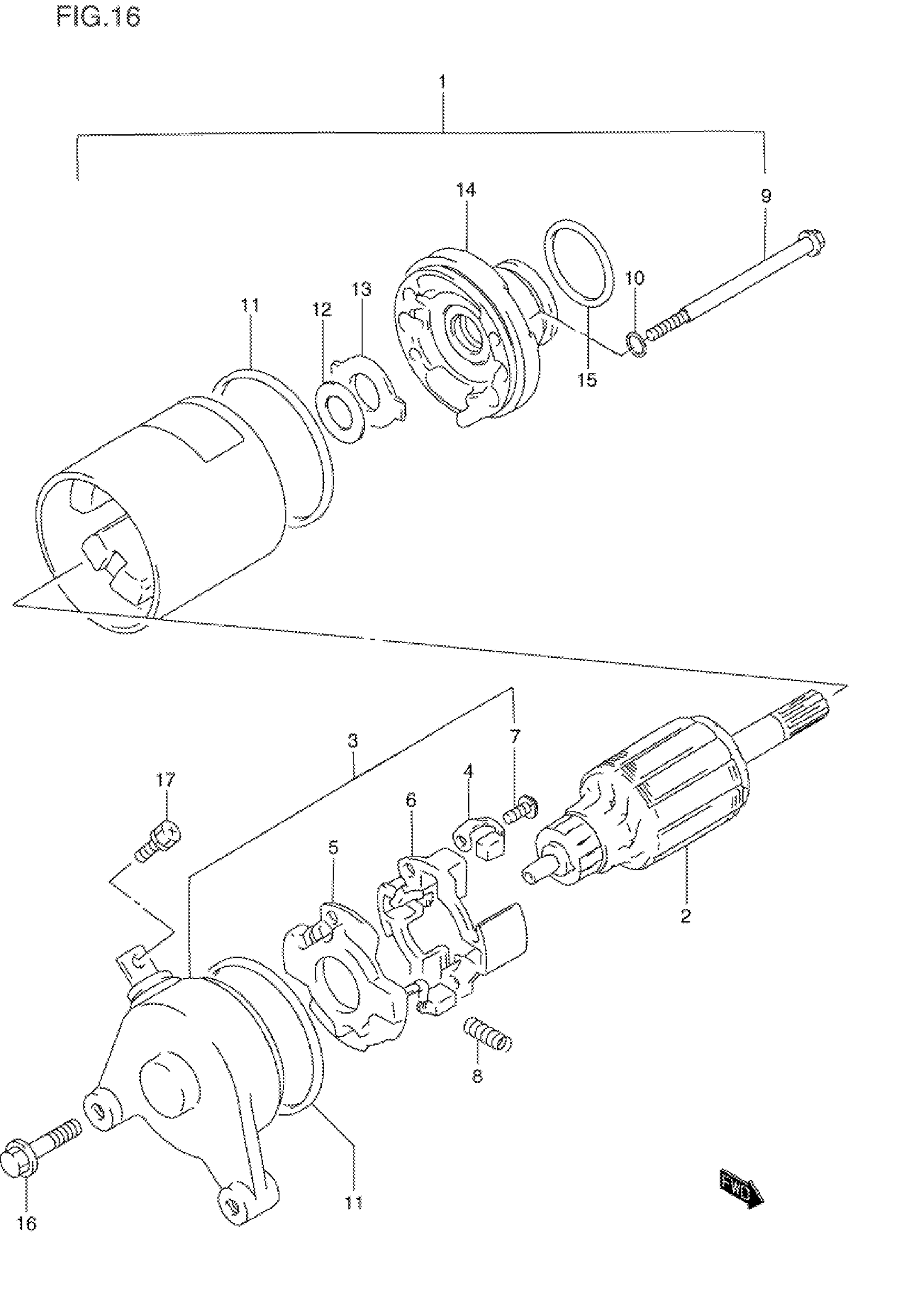
STARTING MOTOR
Suzuki GN125EV (1997) STARTING MOTOR Diagram
#
Description
Price
2
ARMATURE
31310-11D00
Unavailable
3
FRAME ASSY, COMMUTATOR,END
31175-42A01
Unavailable
5
BRUSH SUB ASSY
31130-32C20
Unavailable
6
HOLDER, BRUSH
31133-32C10
Unavailable
8
SPRING
31135-32C10
Unavailable
9
BOLT
31281-32C10
Unavailable
12
SHIM
31361-38300
Unavailable
13
PLATE, LOCK
31361-32C10
Unavailable
14
BRACKET
31150-06C00
Unavailable
