- Partiron
- OEM Parts
- Suzuki
- Motorcycle
- 1997
- GN125EV (1997)
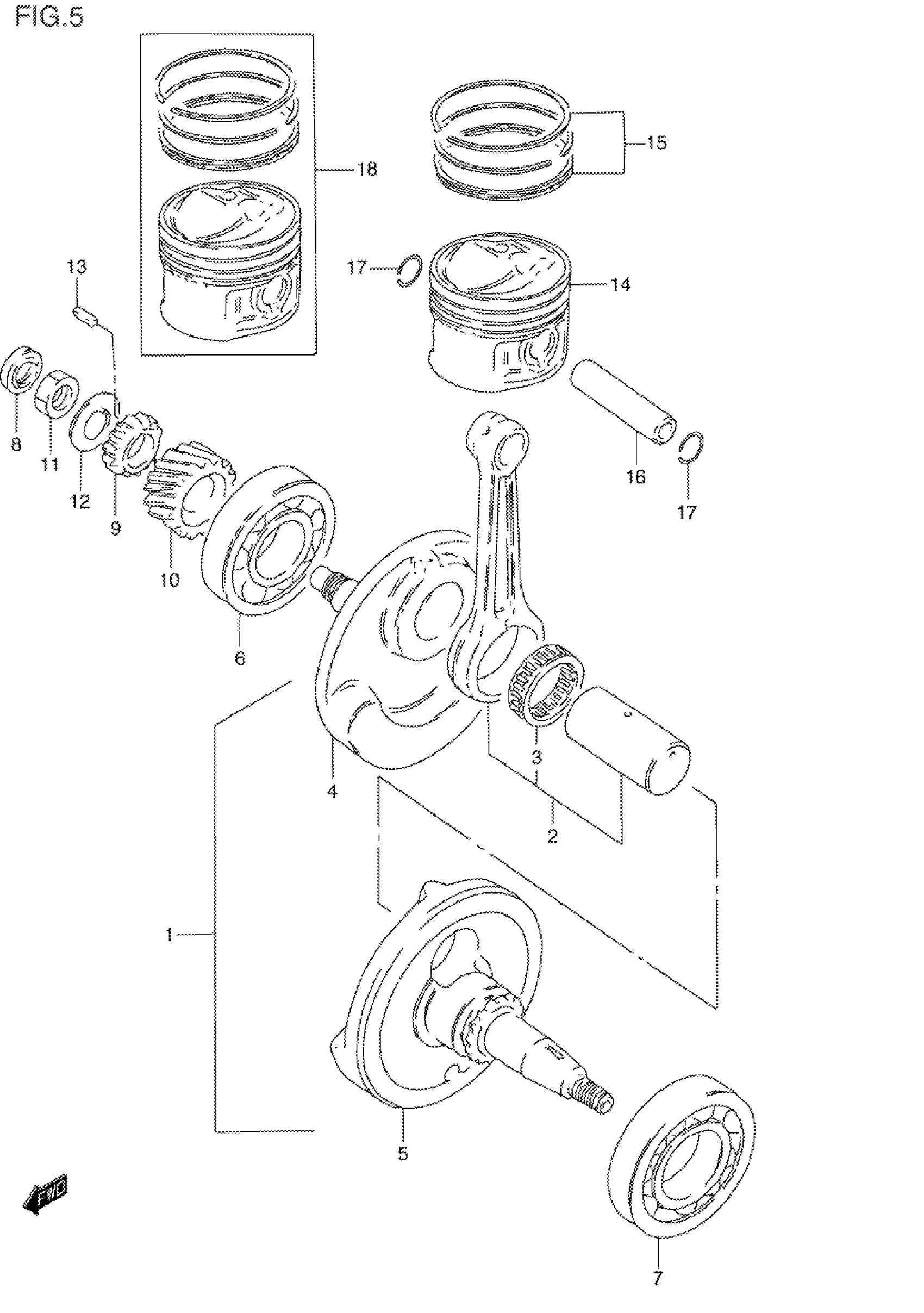
CRANKSHAFT
Suzuki GN125EV (1997) CRANKSHAFT Diagram
#
Description
Price
1
CRANKSHAFT ASSY | Includes Item(s) 2 - 5 This part replaces 12200-05323.
12200-05340
Unavailable
3
BEARING (28X36X15.8)
09263-28027-0B0
Unavailable
4
CRANKSHAFT, RH
12221-05202
Unavailable
5
CRANKSHAFT, LH
12261-05301
Unavailable
9
GEAR, OIL PUMP DRIVE (NT:15)
16321-05201
Unavailable
10
GEAR, PRIMARY DRIVE (NT:17) This part replaces 21111-05200.
21111-05200-0C0
Unavailable
18
PISTON SET (OS:1.0) | OPT
12100-05200-100
Unavailable
