- Partiron
- OEM Parts
- Suzuki
- Motorcycle
- 1997
- GN125EV (1997)
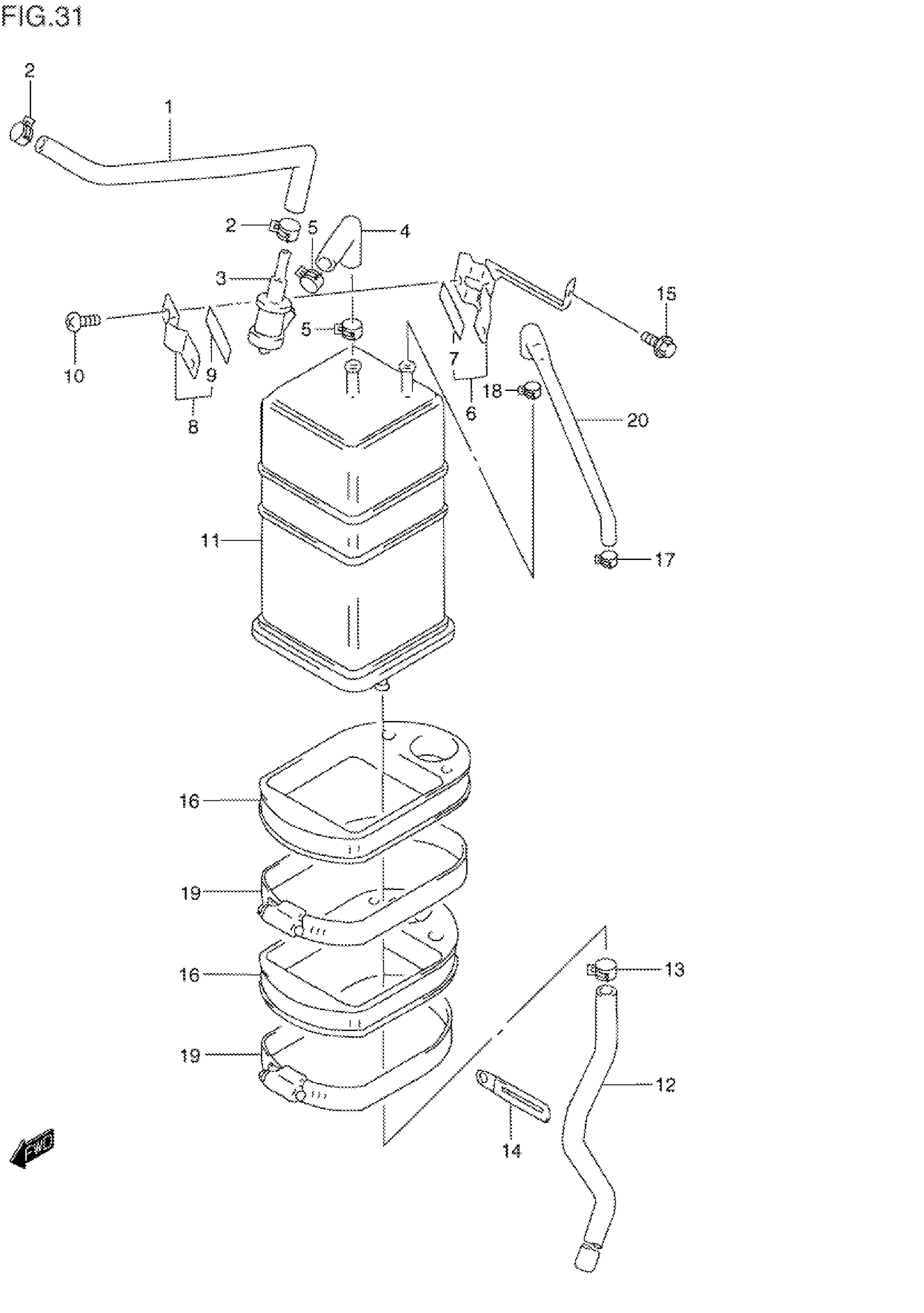
CANISTER (E33)
Suzuki GN125EV (1997) CANISTER (E33) Diagram
#
Description
Price
1
HOSE, TANK & VALVE
44411-38300
Unavailable
4
HOSE, VALVE & CANISTER
44412-38300
Unavailable
6
PLATE, BREATHER VALVE | Includes Item(s) 7
44890-38300
Unavailable
16
CUSHION, CANISTER
17235-05311
Unavailable
19
CLAMP
09402-82501
Unavailable
20
HOSE, CARB (L:600->150)
09359-35751-600
Unavailable
