Partiron

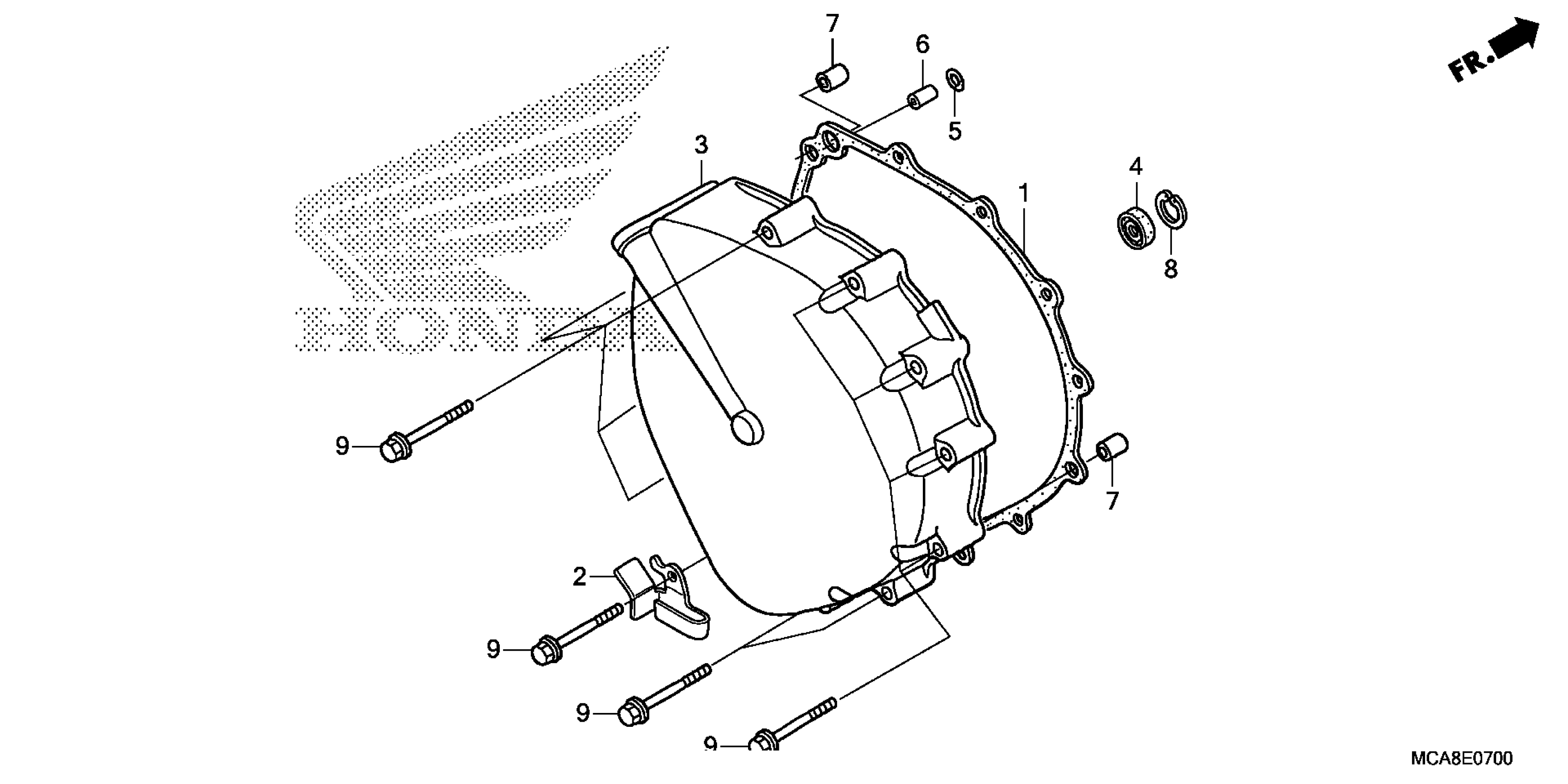
Honda GL18007AC (17) MOTORCYCLE, JPN, VIN# JH2SC68N-HK300001 CLUTCH COVER Diagram

#

Description
Price

1

GASKET, CLUTCH COVER This part replaces 11351-MCA-010.

11351-MCA-020

$13.86

1

GASKET, CLUTCH COVER

11351-MCA-020

$13.86

2

CLAMP, TUBE

11354-MCA-A60

$4.56

3

COVER, CLUTCH

11370-MCA-S41

$260.92

4

OIL SEAL (7X18X5) (ARAI)

91220-MG8-003

$4.33

5

O-RING (5.7X2.2) (ARAI)

91308-MB0-003

$2.22

6

PIN A, DOWEL (6X10) (YAMADA)

94301-06100

$2.25

7

PIN, DOWEL (8X14) (Honda Code 0069310)

94301-08140

$2.25

8

CIRCLIP (INNER) (18MM)

94520-18000

$1.49

9

BOLT, FLANGE (6X38)

95701-06038-00

$1.89