- Partiron
- OEM Parts
- Honda
- MOTORCYCLE
- 2017
- GL18005AC (17) MOTORCYCLE, JPN, VIN# JH2SC68H-HK500001
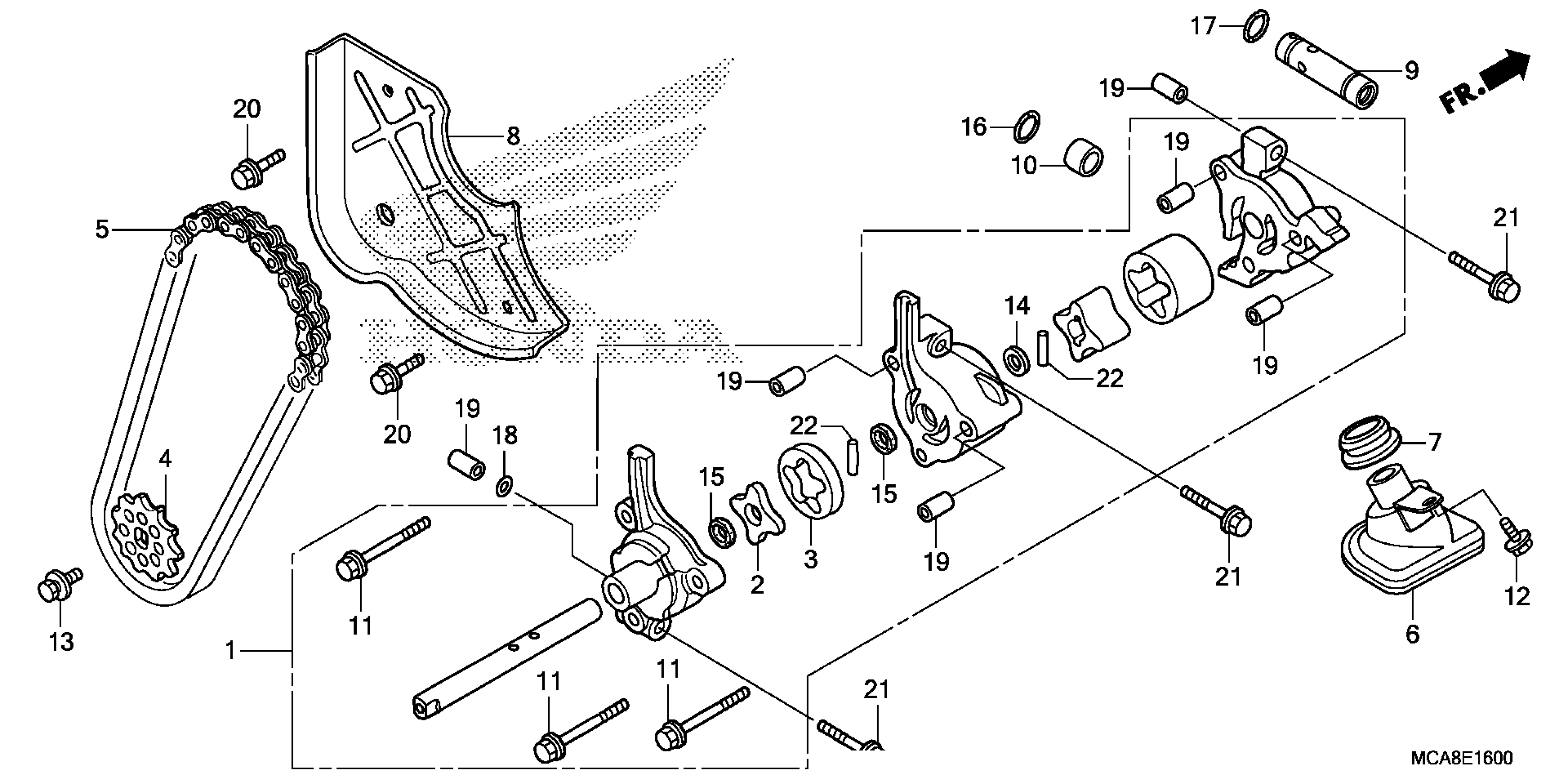
OIL PUMP
Honda GL18005AC (17) MOTORCYCLE, JPN, VIN# JH2SC68H-HK500001 OIL PUMP Diagram
#
Description
Price
OIL PUMP
#
Edit ride
