- Partiron
- OEM Parts
- Honda
- MOTORCYCLE
- 1986
- GL1200SEIA (86) GOLD WING ASPENCADE SE-I, USA, VIN# 1HFSC146-GA202331 TO 1HFSC146-GA220355
SE-I SHELTER 86
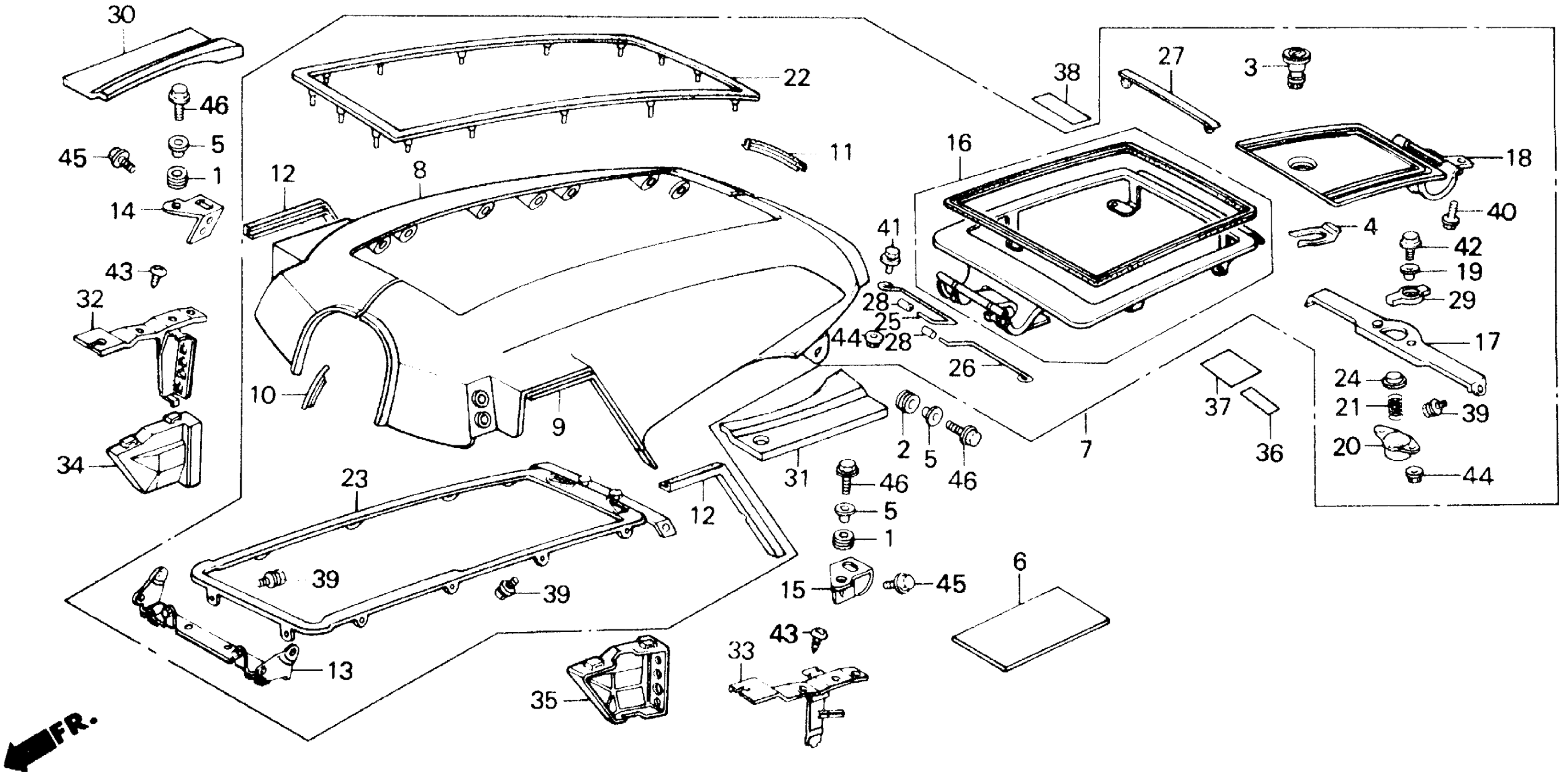
Honda GL1200SEIA (86) GOLD WING ASPENCADE SE-I, USA, VIN# 1HFSC146-GA202331 TO 1HFSC146-GA220355 SE-I SHELTER 86 Diagram
#
7
SHELTER ASSY. *Y108PA* (WL) (PEARL SPLENDOR IVORY)
83100-ML8-750ZA
Unavailable
8
SHELTER, R. SIDE *Y108PA* (WL) (PEARL SPLENDOR IVORY)
83101-ML8-750ZA
Unavailable
9
SHELTER, L. SIDE *Y108PA* (WL) (PEARL SPLENDOR IVORY)
83102-ML8-750ZA
Unavailable
10
SPACER, FR. SHELTER (NOT AVAILABLE)
83105-MG9-000
Unavailable
11
SPACER, RR. SHELTER (NOT AVAILABLE)
83106-MG9-000
Unavailable
12
RUBBER, SHELTER SIDE (NOT AVAILABLE)
83108-MG9-770
Unavailable
13
FRAME A, SHELTER
83111-ML8-000
Unavailable
14
STAY, R. SHELTER
83113-MG9-770
Unavailable
15
STAY, L. SHELTER
83114-MG9-770
Unavailable
16
SHELTER, TOP
83115-MG9-950
Unavailable
17
FRAME B, SHELTER
83116-MG9-000
Unavailable
18
LID, SHELTER *Y108PA* (WL) (PEARL SPLENDOR IVORY)
83117-ML8-750ZA
Unavailable
20
HOLDER, SPRING (NOT AVAILABLE)
83123-463-000
Unavailable
21
SPRING, SHELTER LID (NOT AVAILABLE)
83124-463-000
Unavailable
22
WEATHERSTRIP, SHELTER (NOT AVAILABLE)
83127-MG9-000
Unavailable
23
DRIP, SHELTER
83130-MG9-950
Unavailable
24
COVER, SPRING (NOT AVAILABLE)
83135-463-000
Unavailable
25
SPRING A, TOP SHELTER OPENING (NOT AVAILABLE)
83137-463-000
Unavailable
26
SPRING B, TOP SHELTER OPENING (NOT AVAILABLE)
83138-463-000
Unavailable
27
RUBBER, TOP SHELTER TAIL (NOT AVAILABLE)
83139-MG9-000
Unavailable
28
ROLLER, OPENER SPRING (NOT AVAILABLE)
83140-463-000
Unavailable
29
LOCK, TOP SHELTER
83141-MG9-000
Unavailable
30
PANEL, R. FR. BLIND *R58L* (TYPE1) (ROMANY RED) (NOT AVAILABLE) This part replaces 83171-MG9-950.
83171-MG9-770ZA
Unavailable
31
PANEL, L. FR. BLIND *R58L* (TYPE1) (ROMANY RED) (NOT AVAILABLE) This part replaces 83172-MG9-950.
83172-MG9-770ZA
Unavailable
32
STAY, R. FR. BLIND SETTING
83901-MG9-950
Unavailable
33
STAY, L. FR. BLIND SETTING
83902-MG9-950
Unavailable
34
COVER, R. CONNECTOR HOLDER
83910-MG9-950
Unavailable
35
COVER, L. CONNECTOR HOLDER (NOT AVAILABLE)
83911-MG9-770
Unavailable
36
MARK, RADIATOR CAUTION (NOT AVAILABLE)
87508-415-670
Unavailable
37
MARK, ACCESSORIES & LOADING CAUTION
87512-461-770
Unavailable
38
MARK, DRIVE CAUTION *A73* (GOLD) (NOT AVAILABLE)
87560-181-760ZC
Unavailable
